EasyManua.ls Logo

FMC Technologies Sening EPE2 - Switching outputs Stand-Alone

FMC Technologies Sening EPE2
48 pages
Print Icon
To Next Page IconTo Next Page
To Next Page IconTo Next Page
To Previous Page IconTo Previous Page
To Previous Page IconTo Previous Page
Loading...
Sening®
Innovative Tank Truck Systems
EPE2-
Controller for Meter Draining System
EPE2
Installation Manual
MN F08 003 US / DOK-450E Rev. 1.03 / JS / jp / March 2010 15
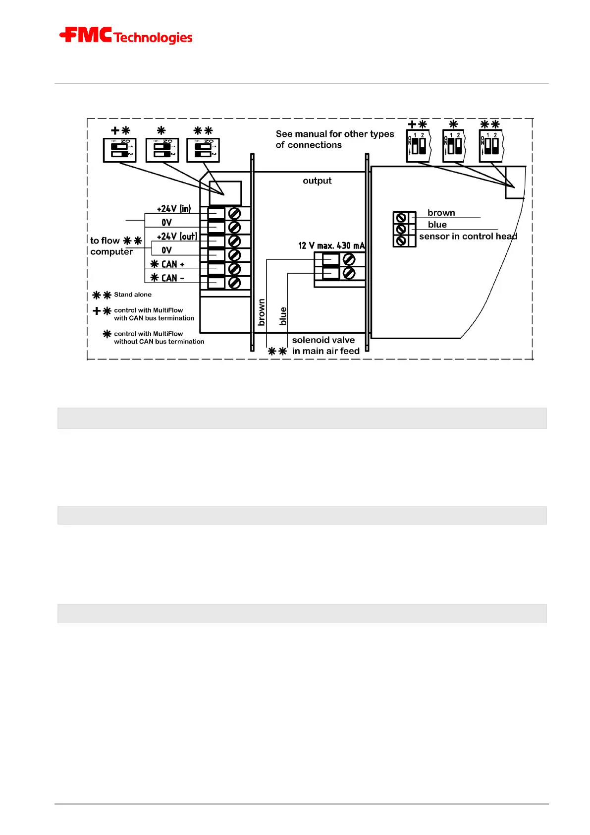
Figure 5: Connection label in the device cover
3.2 Switching outputs in “Stand-Alone residue discharge“ operation
The EPE2-Controller switching device activates the 24 Volt supply of the electronic truck computer.
The level in the metering system is monitored by the attached sensor. An additional solenoid valve
that interrupts the main air supply of the metering system is connected.
3.2.1 Switching output of the solenoid valve for the control air
The control air is switched off immediately after product shortage is detected.
The output is designed for the operation of solenoid valves with 12 volt control voltage with a
max. current of 430 mA (order no. MVS1-E11-12).
3.2.2 Power Out switching output for the flow computer
This output is for controlling the flow computer.
The deactivation of the output and hence the switching off of the supply voltage of the meter
electronics (flow computer) is time delayed (typically 8 secs ).
The switching output is designed for a max. switching current of 8 A at 24V supply voltage.

Table of Contents

Related product manuals