EasyManua.ls Logo

FORST ST8D - Light Board Assembly

Default Icon
54 pages
Print Icon
To Next Page IconTo Next Page
To Next Page IconTo Next Page
To Previous Page IconTo Previous Page
To Previous Page IconTo Previous Page
Loading...
Page 47
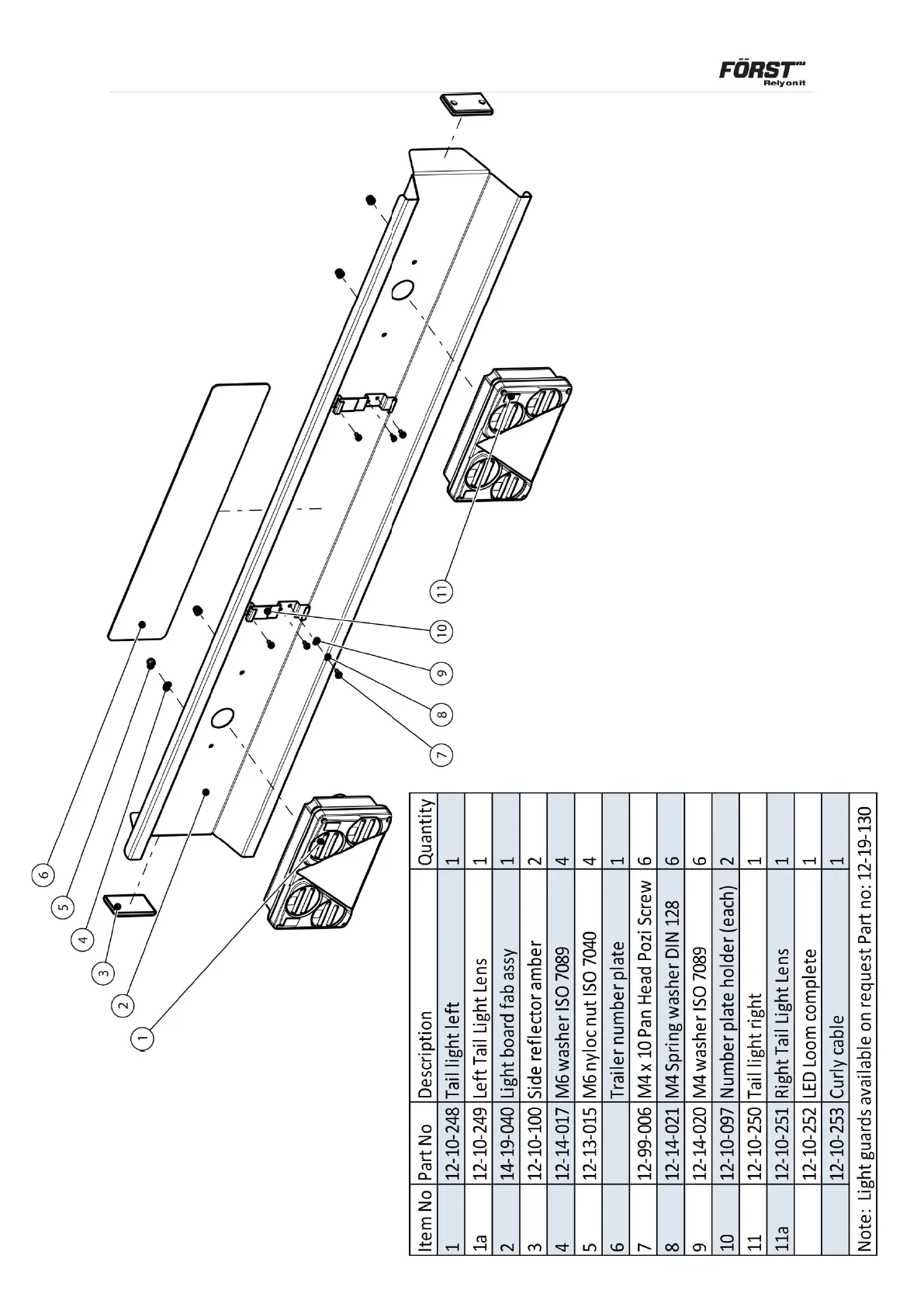
6.12 Light board assembly

Related product manuals