EasyManua.ls Logo

GARDTEC 872 - Page 13

GARDTEC 872
112 pages
Print Icon
To Next Page IconTo Next Page
To Next Page IconTo Next Page
To Previous Page IconTo Previous Page
To Previous Page IconTo Previous Page
Loading...
Page 12
System Installation
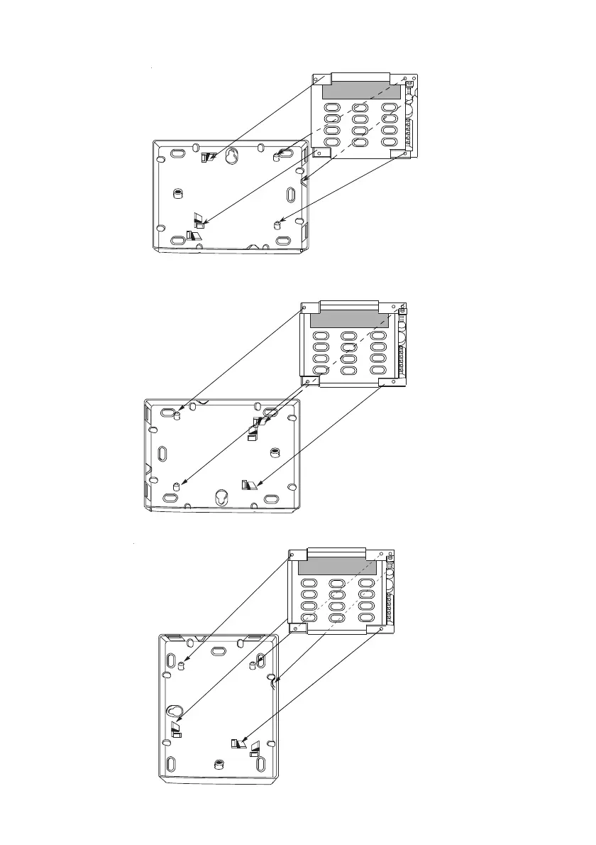
Fig 2a. Flap to left
Standard RKP with
Housing Base
Fig 2b. Flap to right
Standard RKP with
Housing Base
Fig 3. Flap to bottom
Standard RKP with
Housing Base
A
B
C
D
E
F
G
A
B
C
D
E
F
G
Use one of the longer
springs (supplied) on the
tamper switch
Use the shorter spring
(supplied) on the tamper
switch
GardTec 872
A
B
C
D
E
F
G
Use one of the longer
springs (supplied) on the
tamper switch
872.qxd 05/11/2003 15:01 Page 12

Related product manuals