EasyManua.ls Logo

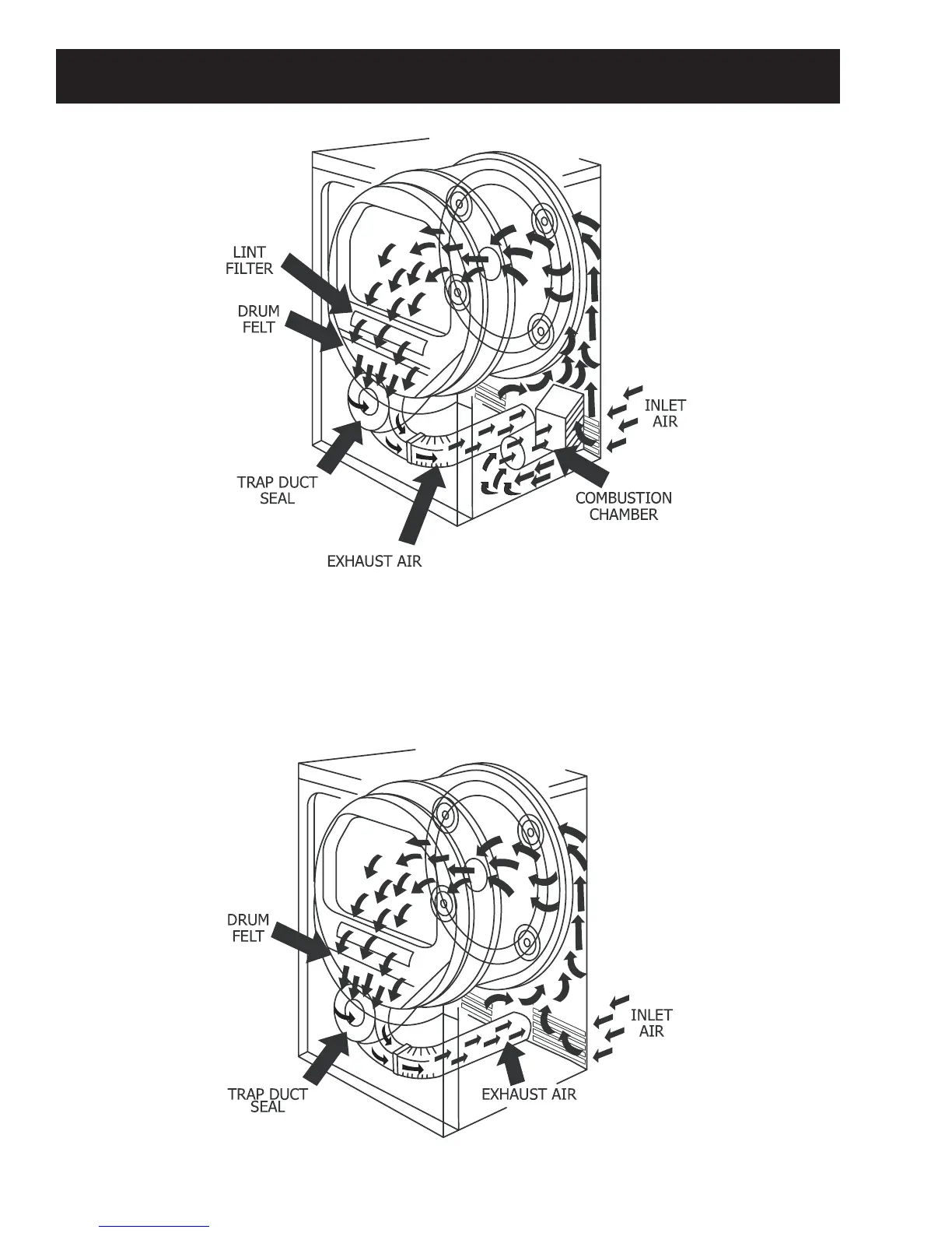
GE GFDS350 - Airflow Dynamics in the Dryer; Visualizing Airflow Patterns

GE GFDS350
53 pages
Print Icon
To Next Page IconTo Next Page
To Next Page IconTo Next Page
To Previous Page IconTo Previous Page
To Previous Page IconTo Previous Page
Loading...
– 22 –
Air ow

Related product manuals