EasyManua.ls Logo

General Climate CU-S05CR - Page 45

General Climate CU-S05CR
57 pages
Print Icon
To Next Page IconTo Next Page
To Next Page IconTo Next Page
To Previous Page IconTo Previous Page
To Previous Page IconTo Previous Page
Loading...
www.generalclimate.com 42 Wall-Mounted Split Type
18 Separating board 1 10109121813
19 Condenser 1 10107111803
20 Water collector 1 10109121815
21 Right clapboard 1 10109121816
22 Big Handle 1 10109121817
23 Cover 1 10109121818
24 Rear Net 1 10109121824
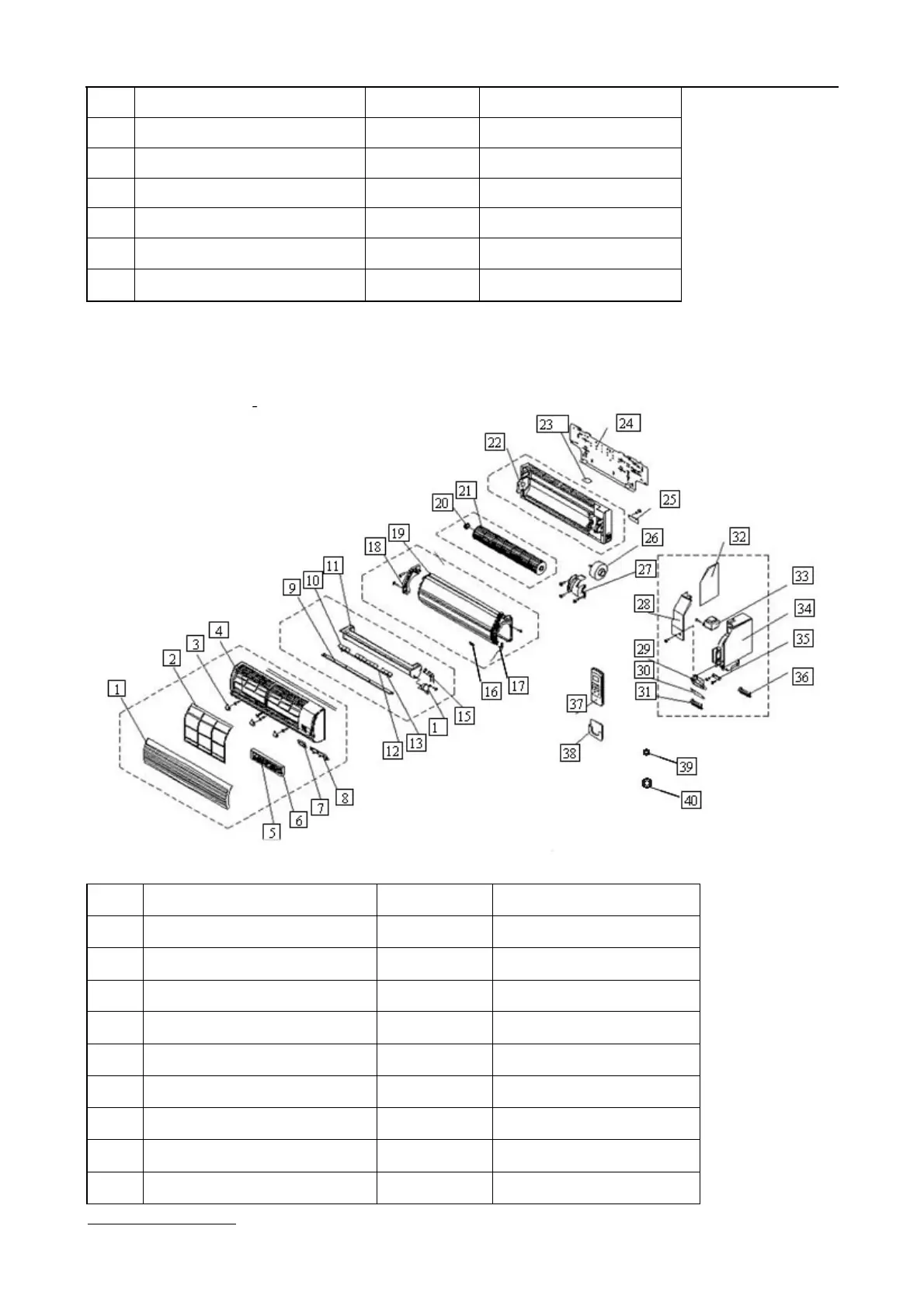
Exploded View Parts for Model : GC-S07HR 220-240V~,50Hz :Indoor Unit
No. Part Name Quantity Sale code
1 Front Panel 1 10309121201
2 Air Filter 2 10309121202
3 Screw cap
3
10309121203
4 Panel frame 1 10309121204
5 Air cleaner 1 10109121226
6 Air cleaner holder 1 10109121225
7 Window for receiver 1 10309121207
8 Indicator for LED 1 10309121208
9 Horizontal louver 1 10309121209