EasyManua.ls Logo

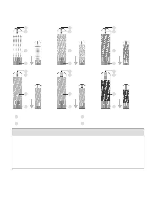
GlucoRx X6 - Test Strip Components; Absorbent Hole; Confirmation Window; Test Strip Handle

GlucoRx X6
44 pages
Print Icon
To Next Page IconTo Next Page
To Next Page IconTo Next Page
To Previous Page IconTo Previous Page
To Previous Page IconTo Previous Page
Loading...
9
Test Strip
1
2
3
4
1
2
3
4
1
2
3
4
1
2
3
4
1
2
3
4
1
2
3
4
1
Absorbent Hole
3
Test Strip Handle
2
Confirmation Window
4
Contact Bars
NOTE
●Thefrontsideoftheteststripshouldfaceupwheninsertingintothe
teststripslot.Testresultsmaybeinaccurateifthecontactbarisnot
fullyinsertedintotheteststripslot.
●TheGlucoRxX6Multi-FunctionalMonitoringSystemshouldonly
beusedwithGlucoRxX6teststrips.Usingotherteststripswiththis
metercanproduceinaccurateresults.

Related product manuals