EasyManua.ls Logo

Grace Cutie - Page 31

Grace Cutie
58 pages
Print Icon
To Next Page IconTo Next Page
To Next Page IconTo Next Page
To Previous Page IconTo Previous Page
To Previous Page IconTo Previous Page
Loading...
31
Cutie Frame
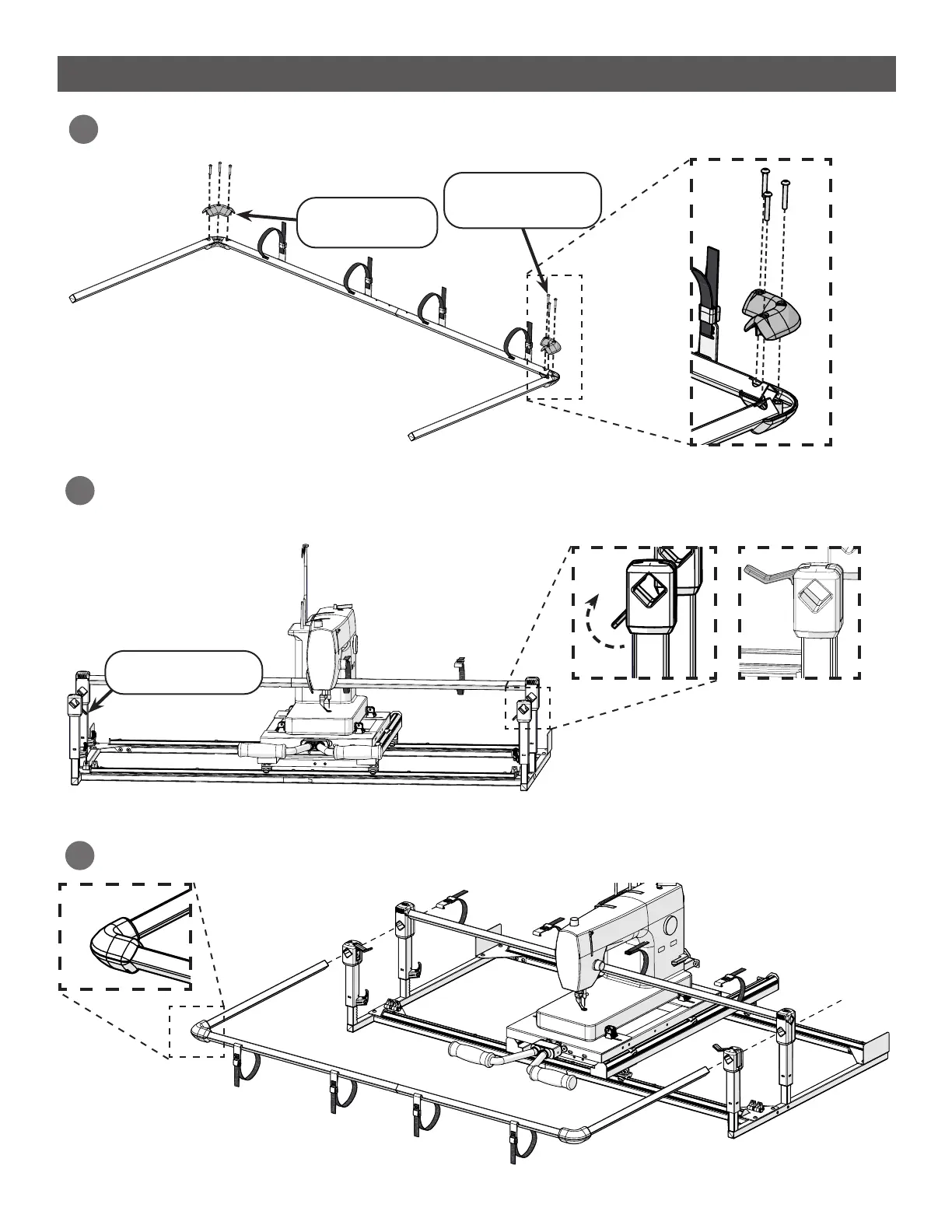
Attach the bottom rail corners using three M4 x 25 mm SBHCS screws and the 2.5 mm
Allen wrench.
13
Bottom Rail
Corner (x2)
SBHCS
M4 x 25 mm (x2)
Open the levers on the front of the frame sides.
14
Side Lever (x2)
Slide the assembled front rail into the frame sides so the screws in the corners face down.
15
Task 8 - Installing the Rails (Continued)

Related product manuals