EasyManua.ls Logo

Graco PR70 - Piston Position Calibration; Extended Piston Position

Graco PR70
68 pages
Print Icon
To Next Page IconTo Next Page
To Next Page IconTo Next Page
To Previous Page IconTo Previous Page
To Previous Page IconTo Previous Page
Loading...
Parts
38 312394C
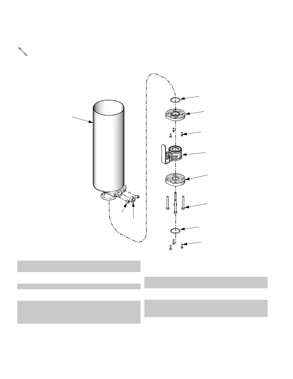
Tank Assemblies 255284, 255285, LC0235, LC0236, LC0012, and LC0013
†See Ball Valve, Assembly 255280, page 39 for
parts information.
It is recommended that the flat face of the tank
faces the back of the base machine. Right hand
tank shown, left hand tank is mirror image.
503
506a
505
506c
503
504
507
501
502
Assembly 255284 Shown
506b
506d
ti12453a
Ref Part Description Qty
501 94/0370/98 PLUG, socket head, 1/4 npt,
stainless steel
2
502 94/0372/98 PLUG, socket head, 3/4 npt,
stainless steel
1
503 95/0223/00 O-RING, fluoroelastomer, bbc 2
504 120904 SCREW, socket head cap, M5 x
0.8 x 18mm
3
505 121011 SCREW, M5 x 0.8 x 14mm,
socket head cap, stainless steel
(assemblies 255284, 255285,
LC0235, and LC0236 only)
3
506
255280 VALVE, ball, shutoff (assemblies
255284, 255285, LC0235, and
LC0236 only)
1
507 15K870 TANK, 7L, stainless steel (assem-
blies 255284 and LC0012 only)
1
15M108 TANK, 3L, stainless steel (assem-
blies 255285 and LC0013 only)
1
15T782 TANK, 7.5L, stainless steel, high
level sensor (assemblies LC0235
and LC0236 only)
1
Ref Part Description Qty

Other manuals for Graco PR70

Related product manuals