EasyManua.ls Logo

Grady-White 360 express - Volt DC Hard Top Elementary Diagram

Default Icon
116 pages
Print Icon
To Next Page IconTo Next Page
To Next Page IconTo Next Page
To Previous Page IconTo Previous Page
To Previous Page IconTo Previous Page
Loading...
360 EXPRESS
8–49
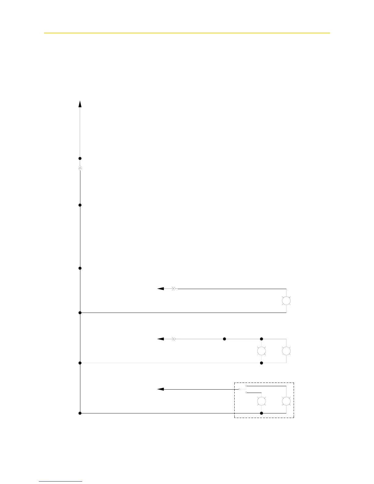
12 Volt DC Hard Top Elementary Diagram
LINE
NO.
1.
MAIN ACC. DC NEG. BUS
16 GA GRY/RED
14 BLU/WHT
16 BLU/GRY
2.
3.
4.
5.
6.
7.
16 GA BLK
14 BLK
16 BLK
SEE DWG
360-DC-3 LINE 8
SEE DWG
360-DC-5 LINE 9
SEE DWG
360-DC-10 LINE 5
10 GA BLK/BLU12V DC HARD TOP NEG. BUS
HARD TOP
DOME LIGHT
W/SW
SPREADER
LIGHTS
MAST
LIGHT
14 BLU/WHT
P6 - 1
P6 - 10
P6 - 4
WW
W
SEE DWG
360-DC-1-1
LINE 4
RW
(BEHIND AC/DC PANEL)(IN HARD TOP)
360-DC-8

Table of Contents

Related product manuals