EasyManua.ls Logo

GRAPHTEC CE5000-120AP - 4.27 User-specified Settings

GRAPHTEC CE5000-120AP
146 pages
Print Icon
To Next Page IconTo Next Page
To Next Page IconTo Next Page
To Previous Page IconTo Previous Page
To Previous Page IconTo Previous Page
Loading...
CE5000-UM-251-9370 6-40
6 DISASSEMBLY AND REASSEMBLY
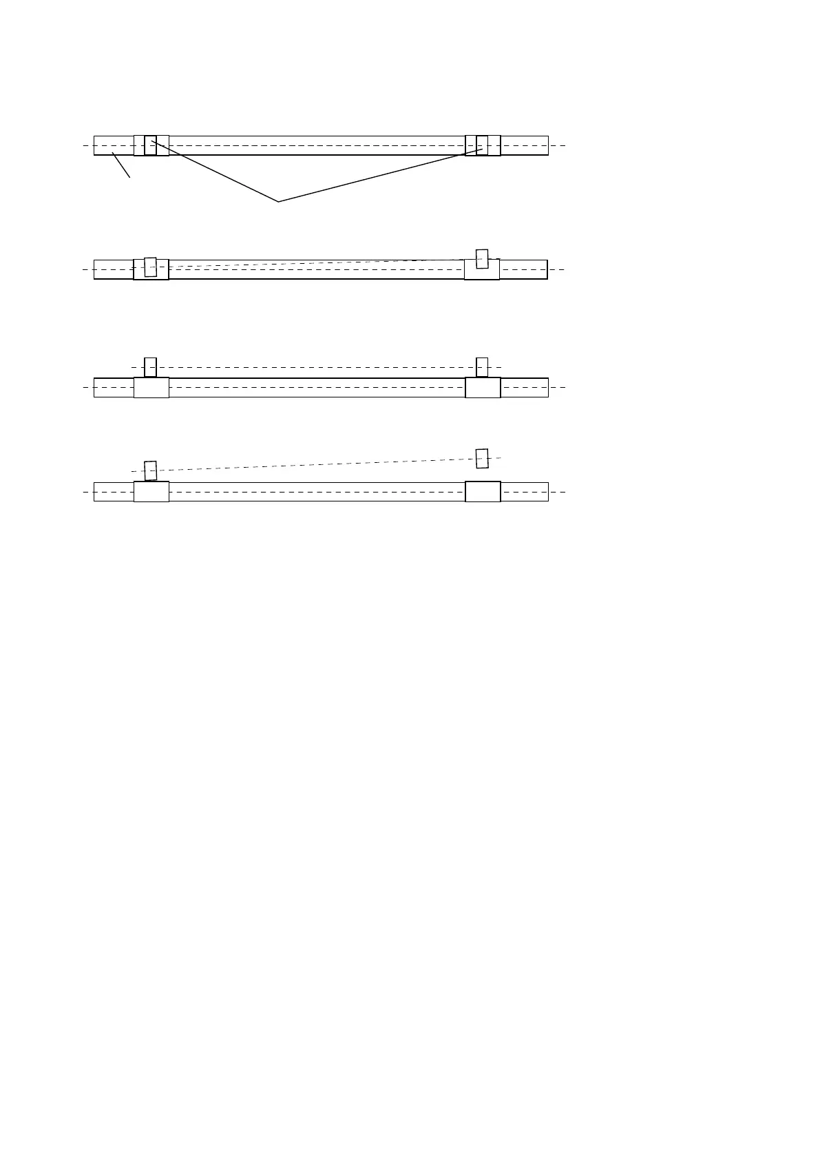
Top view of the pinch roller vs the drive roller
Side view of the pinch roller vs the drive roller
The pinch roller position becomes center of the drive roller when the front of Y bar is touched to the side plate.
The left and the right pinch rollers height becomes even when the bottom of Y bar is touched to the side plate.
Drive roller
Pinch roller
The pinch roller position is not center of the drive roller when the front of Y bar is not touched to the side plate.
The pinch roller height does not become even from the drive roller when the bottom of Y bar is not touched to the side plate.
How to adjust Y-rail mounting position
(1) TheYrailisholdingbytheYmotorbracketandtheYidlerpulleybracket.
(2) Liftupthepinchrollers.
(3) LoosenthescrewsholdingtheYmotorbracketandtheYidlerpulleybracket,andthenadjustthe
positionfortheYrail.
(4) TightenthescrewsaftertheYrailpositionisadjusted.

Table of Contents

Other manuals for GRAPHTEC CE5000-120AP

Related product manuals