EasyManua.ls Logo

GRESGYING F2-EU - 7.5 Placing

GRESGYING F2-EU
52 pages
Print Icon
To Next Page IconTo Next Page
To Next Page IconTo Next Page
To Previous Page IconTo Previous Page
To Previous Page IconTo Previous Page
Loading...
33 / 52
5. Remove the wooden pallet.
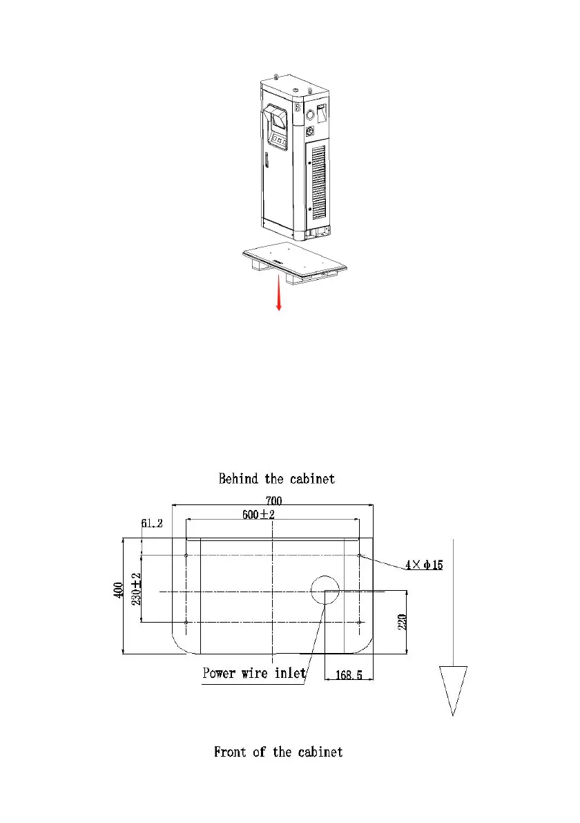
7.5 Placing
When the installation area is prepared, you can install and connect the charging station.
1. Use a crane to hoist the charging station and place it on the treated foundation, make
sure that the φ15 mounting hole reserved on the charging station is aligned with the M12
expansion bolt on the foundation, and tighten it with a wrench;
After the cabinet is installed, shake the cabinet from different directions, and you should
not feel any obvious looseness or shaking.