EasyManua.ls Logo

Hawk s1 - Installation and User Interface; Installation and Adjustment Procedures

Hawk s1
62 pages
Print Icon
To Next Page IconTo Next Page
To Next Page IconTo Next Page
To Previous Page IconTo Previous Page
To Previous Page IconTo Previous Page
Loading...
10
Syringe and extension tube
5. Installation and Adjustment
5.1 Installation conditions and technical requirements
The Syringe Pump can be fixed to a vertical IV pole or horizontal bar with diameter of 12-35 mm, or
on platform with slope angle not exceeding 5°.
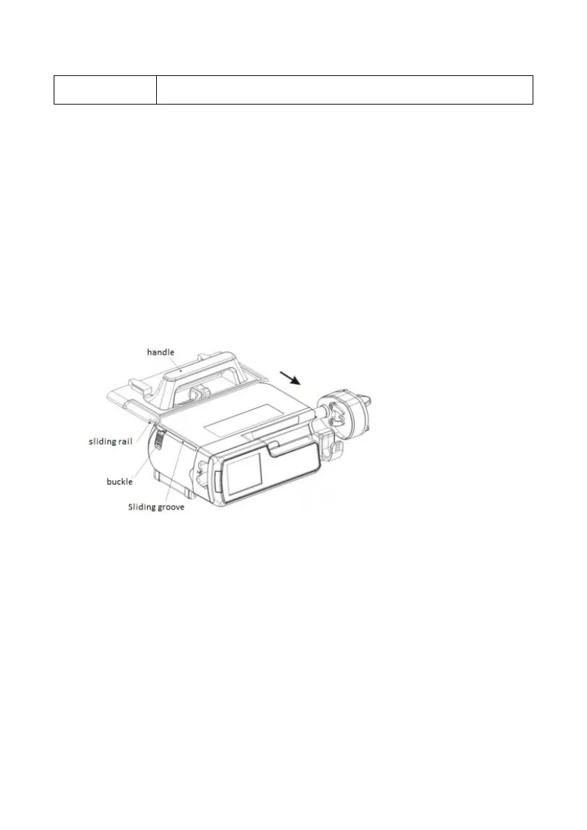
5.2 Assembly/ Disassembly of Handle
5.2.1 Installation of handle
Hold the syringe pump with one hand, hold the handle with another hand, push the sliding rail of
handle into the sliding groove of syringe pump straightly, when it reach the designated position the buckle
will bounce automatically to lock it.
5.2.2 Remove the Handle
Pull down the buckle with one hand, push backwardly the handle from sliding groove with another
hand to remove the handle.
5.3 Installation method and cautions
Method 1: Put the syringe pump on stable platform
Method 2: Fix the syringe pump to IV Pole as per below steps:
(1) Rotate the clamp knob of fixation screw out the rod, leave space for IV pole
(2) Clamp to IV pole (the IV pole should meet the requirements of balance and mechanical strength),

Related product manuals