EasyManua.ls Logo

Hill-Rom Basic Care Bed - Page 71

Hill-Rom Basic Care Bed
176 pages
Print Icon
To Next Page IconTo Next Page
To Next Page IconTo Next Page
To Previous Page IconTo Previous Page
To Previous Page IconTo Previous Page
Loading...
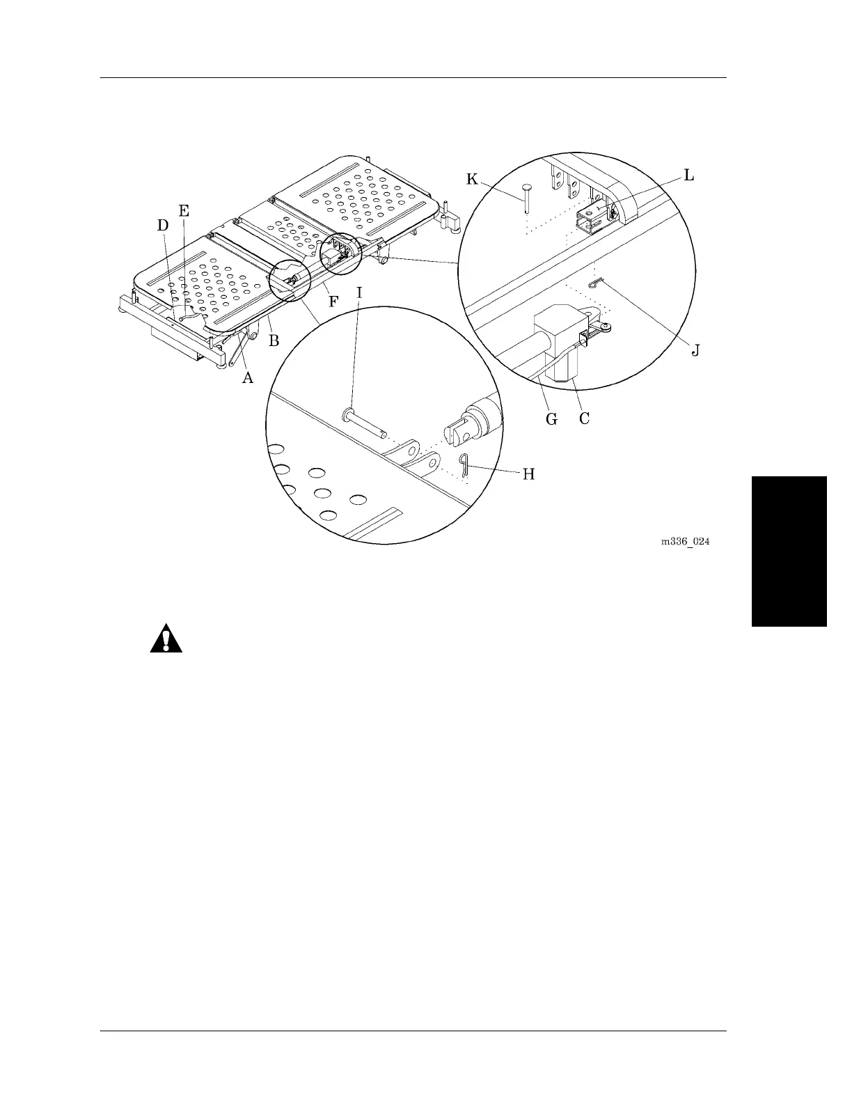
4.8 Head Motor
Chapter 4: Removal, Replacement, and Adjustment Procedures
4
Hill-Rom® Basic Care™ Bed, Hill-Rom® 305 Manual Bed, Page 4 - 19
Hill-Rom® 405 Electric Bed Service Manual (MAN336 REV 2)
Figure 4-8. Head Motor
Replacement
CAUTION:
Keep enough slack in the cables to allow the bed to move through its
full range of motion. Make sure the bed cables do not bind and do not
have any force applied to them. Failure to do so could cause equipment
damage.
1. When you route the cables, make sure they have enough slack for the bed
to move through its full range of motion.
2. Do the removal procedure in the reverse order.
Adjustment
Adjust the tension on the CPR cable (G) (refer to procedure 6.2 on page 6-11).

Table of Contents

Related product manuals