EasyManua.ls Logo

Hioki 3284 - 1.3 Parts and Functions

Hioki 3284
160 pages
Print Icon
To Next Page IconTo Next Page
To Next Page IconTo Next Page
To Previous Page IconTo Previous Page
To Previous Page IconTo Previous Page
Loading...
13
――――――――――――――――――――――――――
1
製品概
―――――――――――――――――――――――
3284
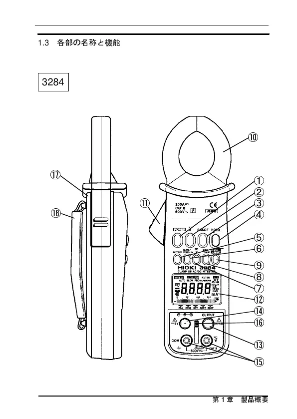
1.3
部の名称と機

Related product manuals