EasyManua.ls Logo

Hisense Essense - Wiring Diagram

Hisense Essense
33 pages
Print Icon
To Next Page IconTo Next Page
To Next Page IconTo Next Page
To Previous Page IconTo Previous Page
To Previous Page IconTo Previous Page
Loading...
23
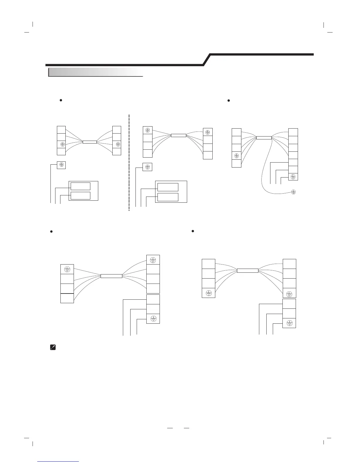
Installation instructions
9K*,12K* Model
Make sure that the color of the wires in the outdoor unit and terminal No. are the same as those
of the indoor unit.
24K,30K Model
Wiring diagram
Indoor unit
Outdoor unit
Terminal
Terminal
1(N)
2(L)
3(SI) 3(SI)
1(N)
N
2(L)
L
Power connecting cord
B
l
u
e(
Gr
a
y)
B
lu
e
(Gra
y)
Y
el
l
ow/G
reen
Ye
llow
/G
r
e
e
n
Power supply
B
l
a
ck
Bl
ac
k
B
rown
Brown
BN
BU
YE/GN
18K*,22K*,24K*,30K* Model
Outdoor unit
Indoor unit
Terminal
Terminal
Power connecting cord
B
lu
e
(
G
r
a
y)
Blu
e
(
Gr
a
y)
Black
Bla
ck
Power supply
B
rown
B
r
ow
n
1(N)
2(L)
3(SI)
1(N)
3(SI)
2(L)
N
L
Yello
w/
Gr
e
e
n
Y
ell
ow/G
re
e
n
BN
BU
YE/GN
For 9K,12K,18K,24K, 30K models, the power supply is connected from the outdoor unit
with a circuit breaker.
For 9K*,12K*,18K*,22K*, 24K*, 30K* models, the power supply is connected from the indoor
unit
with a circuit breaker.
Outdoor unit
Indoor unit
Terminal Terminal
Power connecting cord
Blu
e
Blu
e
B
lack
1(L)1(L)
2(N)2(N)
4(SI) 4(SI)
B
la
ck
BN
BU
YE/GN
RY1 ACIN-L
CN10 ACIN-N
B
r
own
Indoor unit control board
Evaporator
Y
E/
GN
Y
E/G
N
33
Br
own
Power supply
BN
BU
YE/GN
RY1 ACIN-L
CN10 ACIN-N
Power supply
Power connecting cord
B
l
u
e
(
Gr
a
y
)
Blu
e(
Gr
ay
)
B
l
a
c
k
Bla
c
k
B
r
o
wn
Brown
1(N)
2(L)
3(SI)
1(N)
3(SI)
2(L)
Ye
l
l
ow
/G
re
e
n
Yell
ow
/
G
re
e
n
Terminal
Indoor unit
Terminal
Outdoor unit
BN
BU
AC L-IN
AC N-IN
BN
BU
YE/GN
Indoor unit control board
Evaporator
2(N)
1(L)
0(L) 0(L)
2(N)
1(L)
Power connecting cord
B
l
ue
B
lu
e
Yello
w
/G
reen
Br
o
w
n
B
rown
G
r
a
y
G
r
a
y
Power supply
L
N
BN
BU
YE/GN
Terminal
Indoor unit
Terminal
Outdoor unit
4(SL)
4(SL)
Bl
a
c
k
B
l
ack
9K,12K,18K Model

Related product manuals