EasyManua.ls Logo

Hobart 5359D - Cold Weather Starting Aid

Hobart 5359D
270 pages
Print Icon
To Next Page IconTo Next Page
To Next Page IconTo Next Page
To Previous Page IconTo Previous Page
To Previous Page IconTo Previous Page
Loading...
OM 2012
1’1
io
I3
IS
16 If r8
I9 20 21 22
23 24 29
*lJsed on as96q-
only
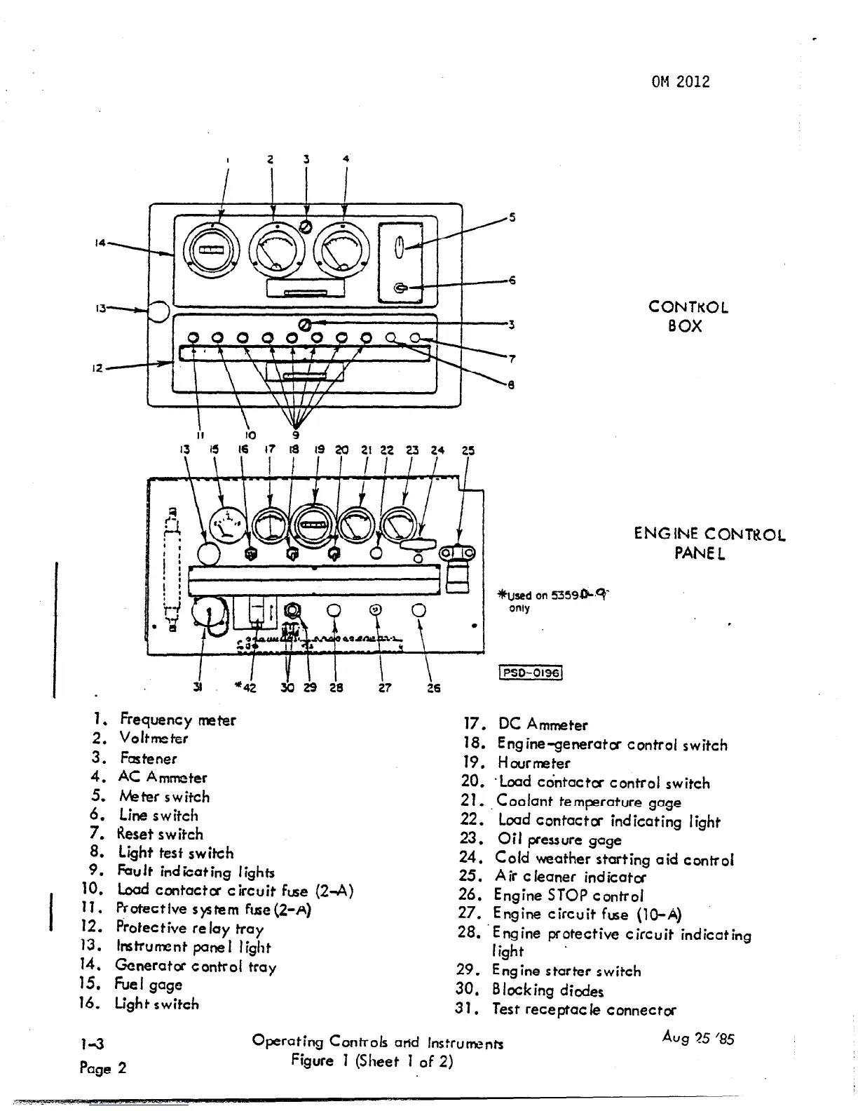
CONTKOL
BOX
ENGINE CONTROL
PA&E 1
.
50 29 28 27 26
1. Frequency meter
2. vottrneter
17. DC Ammeter
3. Fastener
18. Engine-generator control switch
19. Hourmeter
4. AC Ammter
5. Meter switch
20. .Lcad cdntactcs control switch
6. Line swiich
21. Coolant temperature gage
7. Reset switch
22. Load contactor indicating light
8. Light test switch
23. Oil pressure gage
9. f%uJt indicating lights
24. Cold weather starting aid control
10. Load cantactor circuit fuse (2-A)
25. Air c leaner indicator
I
? ? .
Protective s ys tern fuse (2-A)
26. Engine STOP control
12. Protective relay tray
27. ,Engine circuit fuse (10-A)
13. Instrument panel light
28. Engine protective circuit indicating
14. Generator control tray
light
15. Fuel gage
29. Engine starter switch
16. Light switch
30. Blocking diodes
31. Test receptacle connecter
l-3
Page 2
Operating Controls arid Instruments
Figure 1 (Sheet ? of 2)
Avg 25 ‘85

Related product manuals