EasyManua.ls Logo

HP 54753A - Page 255

HP 54753A
288 pages
Print Icon
To Next Page IconTo Next Page
To Next Page IconTo Next Page
To Previous Page IconTo Previous Page
To Previous Page IconTo Previous Page
Loading...
Transmission Line Theory Applied to Digital Systems
Microstrip Transmission Line Techniques Evaluated Using TDR Measurements
11-27
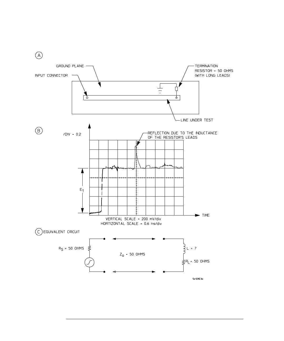
Figure 11-12
Effects Due to Termination Resistor Leads

Table of Contents

Related product manuals