EasyManua.ls Logo

HT EASYTEST - Page 19

HT EASYTEST
112 pages
Print Icon
To Next Page IconTo Next Page
To Next Page IconTo Next Page
To Previous Page IconTo Previous Page
To Previous Page IconTo Previous Page
Loading...
EASYTEST-COMBI519
EN - 19
CAUTION
If message Measuring appears on the display, the instrument is
performing measurement. During this whole stage, do not disconnect the
test leads of the instrument from the mains.
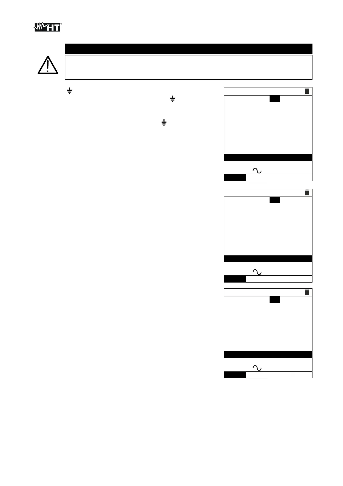
6.
The Ra test starts and the screen to the side appears on
the display. After approx. 20s, the Ra
ends and ithe
values of RA (overall earth resistance) and Ut (contact
voltage) immediately appear on the display.
In case of a positive result of the Ra
test (see § 12.8),
the instrument goes on with the test on the trip-out current
and trip-out time of the RCD.
A U T O 15/10 18:04
TT ><
RA=48.8 Ut=1.5 V
Trcd=---ms Ircd=---mA
FREQ=50.00Hz
VL-PE=231V VL-N=232V
Measuring...
30mA
500V
1.00M
In
Type
Vtest
Lim
7.
The RCD test starts and the screen to the side appears
on the display. The trip-out current and the trip-out time
values appear on the display.
In case of a positive result of all the tests sequentially
performed during RCD test (Trcd and Ircd parameters)
(see § 12.4), the instrument goes on with the test on
insulation resistance between L-N, L-PE and N-PE
conductors.
A U T O 15/10 18:04
TT ><
RA=48.8 Ut=1.5 V
Trcd=25ms Ircd=27.0mA
FREQ=50.00Hz
VL-PE=231V VL-N=232V
Measuring...
30mA
500V
1.00M
In
Type
Vtest
Lim
8.
The insulation test starts and the screen to the side
appears on the display. The RL-N, RL-PE and RN-PE
values appear on the display.
In case of a positive result of all the test sequentially
performed during insulation test (insulation resistance >
minimum limit threshold), the instrument has completed
its tasks, shows the “OK” message and displays the
screen to the side.
Press (, ) in order to display the values of the second
available page.
A U T O 15/10 18:04
TT ><
RL-N >999M Vt= 523V
RL-PE >999M Vt= 524V
RN-PE >999M Vt=522V
FREQ=50.00Hz
VL-PE=0V VL-N=0V
OK
30mA
500V
1.00M
In
Type
Vtest
Lim

Table of Contents

Related product manuals