EasyManua.ls Logo

Ier I420 - 1.3.3 OPERATION PANEL

Ier I420
28 pages
Print Icon
To Next Page IconTo Next Page
To Next Page IconTo Next Page
To Previous Page IconTo Previous Page
To Previous Page IconTo Previous Page
Loading...
i420
User Guide
Page 14
N0L802A1
Ce document est la propriété d'IER et ne doit pas être reproduit ou communiqué sans autorisation écrite.
This document is the property of IER and may not be reproduced or communicated without prior written
authorization
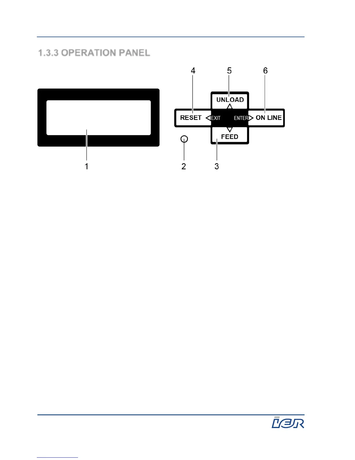
1.3.3 OPERATION PANEL
1
LCD display, 2 lines of 15 characters
2
Status LED
3
FEED/ (down arrow) key
4
RESET/EXIT/ (left arrow) key
5
UNLOAD/▲ (up arrow) key
6
ON LINE/ENTER/ (right arrow) key

Related product manuals