EasyManua.ls Logo

Jet EVS-1440B - EVS-1440 B Coolant Pump Assembly - Exploded View; EVS-1440 B Coolant Pump Assembly - Parts List

Jet EVS-1440B
68 pages
Print Icon
To Next Page IconTo Next Page
To Next Page IconTo Next Page
To Previous Page IconTo Previous Page
To Previous Page IconTo Previous Page
Loading...
53
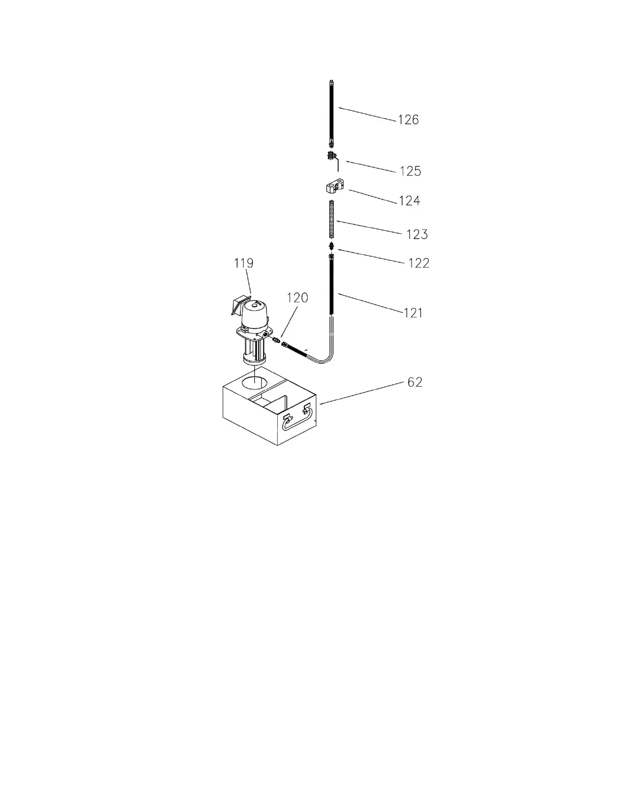
15.11.1 EVS-1440B Coolant Pump Assembly – Exploded View
15.11.2 EVS-1440B Coolant Pump Assembly – Parts List
Index No Part No Description Size Qty
62 .............. EBL1236VS-G62 ....... Coolant Tank ........................................................... 310Lx220Wx170H ........ 1
119 ............ EVS1440B-G119 ....... Pump..........................................1/8HP,115/230V,1PH,prewired 230V .......... 1
120 ............ EBL1236VS-G120 ..... Nipple ...................................................................... ...................................... 1
121 ............ EBL1236VS-G121 ..... Flexible Hose ........................................................... ...................................... 1
122 ............ EBL1236VS-G122 ..... Nipple ...................................................................... ...................................... 1
123 ............ EBL1236VS-G123 ..... Tube ........................................................................ ...................................... 1
124 ............ EBL1236VS-G124 ..... Bracket .................................................................... ...................................... 1
125 ............ EBL1236VS-G125 ..... Value Gate ............................................................... ...................................... 1
126 ............ EBL1236VS-G126 ..... Spraying Pipe .......................................................... ...................................... 1

Table of Contents

Related product manuals