EasyManua.ls Logo

KBS mini-Compacta - Page 56

KBS mini-Compacta
86 pages
Print Icon
To Next Page IconTo Next Page
To Next Page IconTo Next Page
To Previous Page IconTo Previous Page
To Previous Page IconTo Previous Page
Loading...
10.1.2 mini-Compacta U60 C, U100 C, UZ150 C - Rotating assembly
UG 1131264
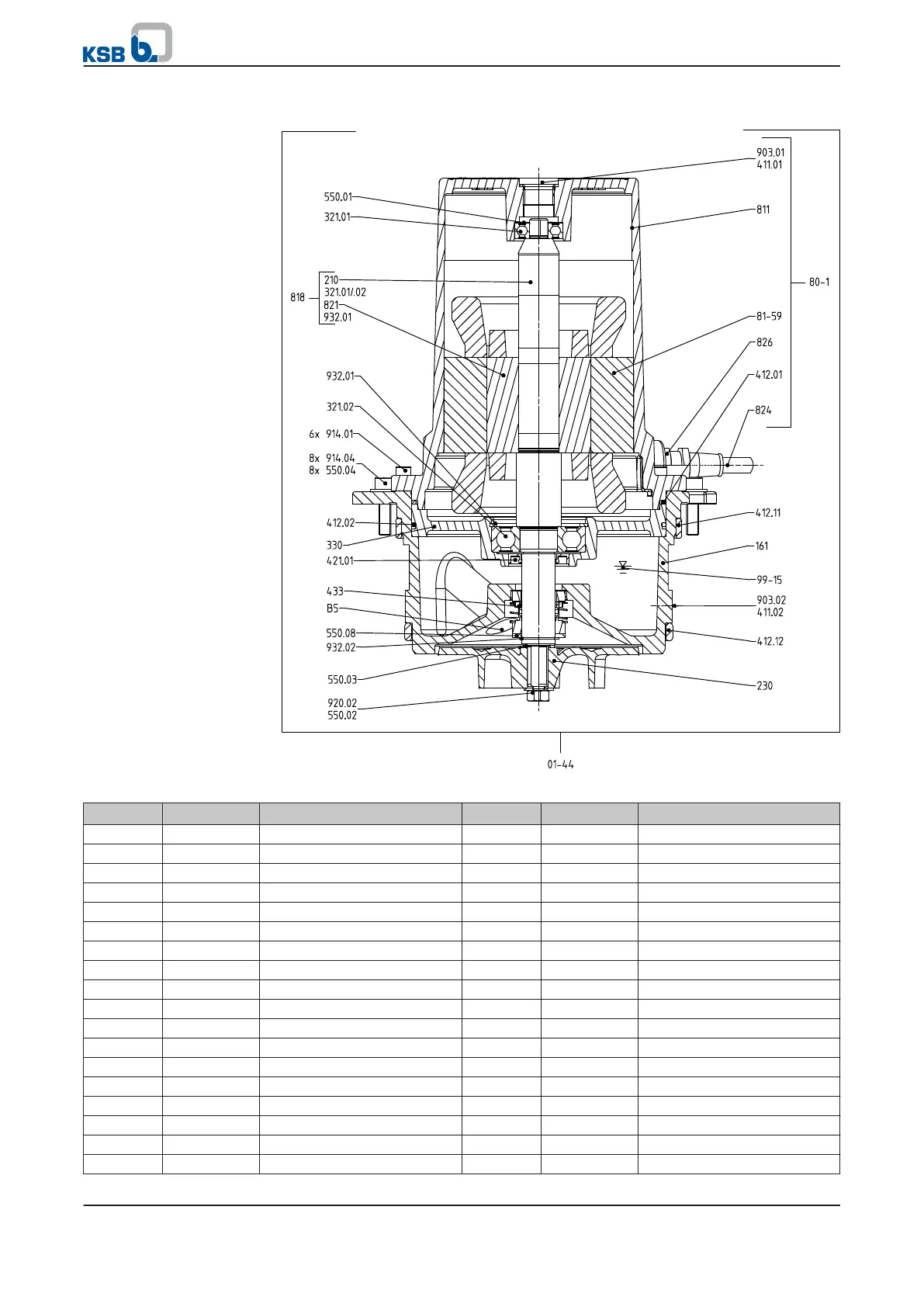
Fig. 35: General assembly drawing U60 C, U100 C, UZ150 C - Rotating assembly
Part No. Part No. Description Part No. Part No. Description
01-44
Rotating assembly 99-20.01
Bearing/shaft seal repair kit
161
Casing cover
321.01 Deep groove ball bearing
230
Impeller
321.02 Deep groove ball bearing
330
Bearing bracket
411.02 Joint ring
412.01/.02
O-ring
421.01 Lip seal
412.11/.12
O-ring
433 Mechanical seal
433
Mechanical seal
550.01 Disc
80-1
Motor unit
550.02 Disc
411.01 Joint ring
550.03 Support disc
412.01 O-ring
903.02 Screw plug
811 Motor housing
920.02 Hex. nut
81-59 Stator
932.01/.02 Circlip
824 Cable 99-20.02
Small parts repair kit
826 Cable gland
411.01/.02 Joint ring
903.01 Screw plug
412.01/.02 O-ring
914.01 Hex. socket head cap screw
412.11/.12 O-ring
818
Rotor
550.01 Disc
210 Shaft
550.02 Disc
10 Related Documents
56 of 86
mini-Compacta

Table of Contents