EasyManua.ls Logo

Keithley 2601B - Page 98

Keithley 2601B
864 pages
To Next Page IconTo Next Page
To Next Page IconTo Next Page
To Previous Page IconTo Previous Page
To Previous Page IconTo Previous Page
Loading...
Section
2: General operation Series 2600B System SourceMeterĀ® Instrument
Reference Manual
2-74 2600BS-901-01 Rev. B / May 2013
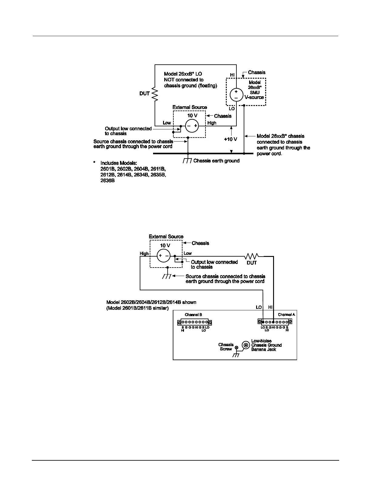
Figure 38: Floating the Series 2600B schematic
The Series 2600B connections for the floating configuration are shown below. In order to float the
SMU, input/output LO must be isolated from chassis ground. This is accomplished by not connecting
input/output LO to chassis ground.
Figure 39: Model 2601B/2602B/2604B/2611B/2612B/2614B SMU connections

Table of Contents

Other manuals for Keithley 2601B

Related product manuals