EasyManua.ls Logo

Kinco CD620 - Parameters for Pulse Control Mode

Kinco CD620
133 pages
Print Icon
To Next Page IconTo Next Page
To Next Page IconTo Next Page
To Previous Page IconTo Previous Page
To Previous Page IconTo Previous Page
Loading...
58
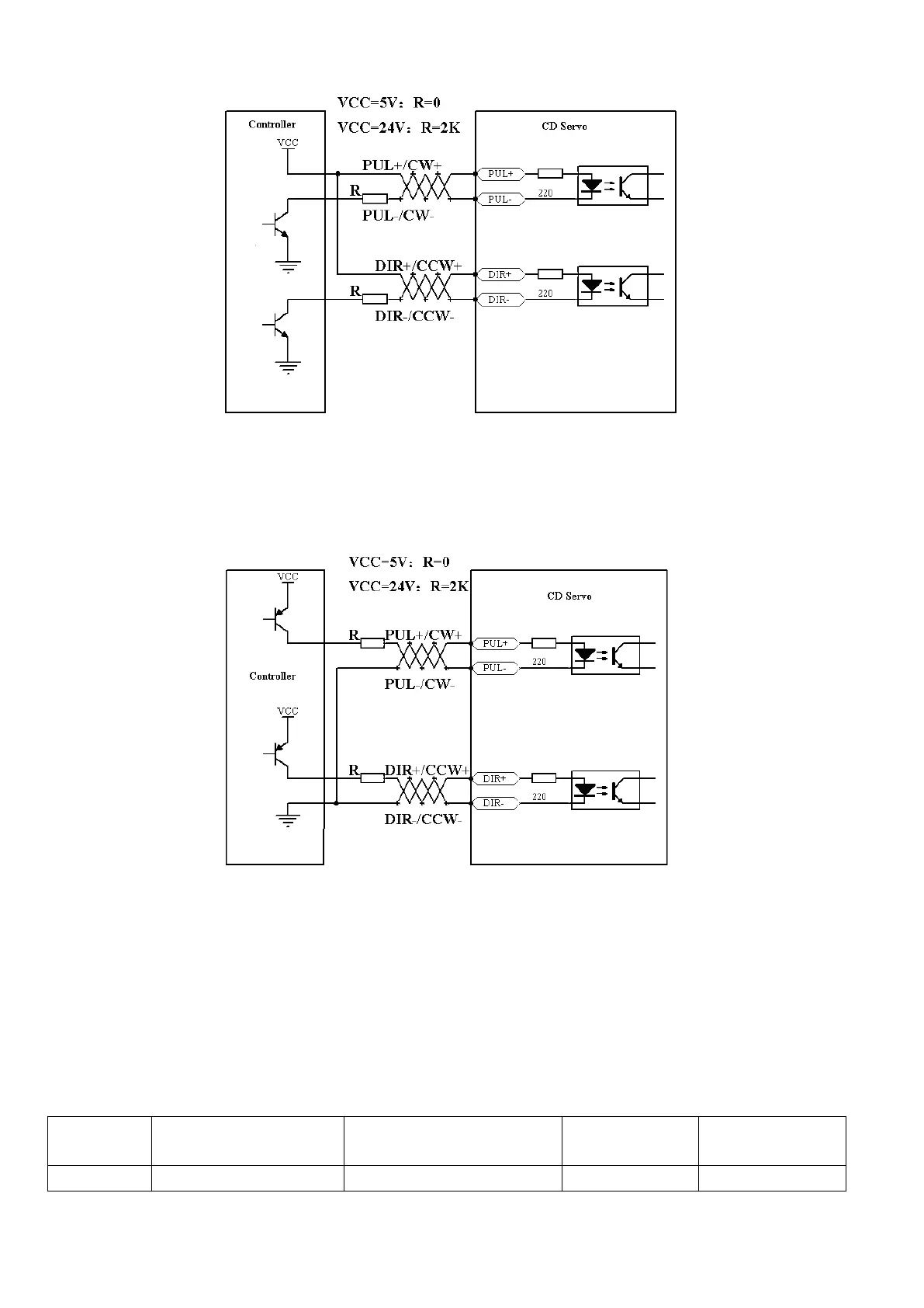
Fig. 7-3 Common anode connection (to controllers that support valid low level output)
Note:CD2 driver can support 5-24VDC input,so it neednt add resistors.
CD driver only support 5VDC input,so it needs to add resistors when using 24VDC input.
4. Common cathode connection (to controllers that support valid high level output)
Fig. 7-4 Common cathode connection (to controllers that support valid high level output)
Note:CD2 driver can support 5-24VDC input,so it neednt add resistors.
CD driver only support 5VDC input,so it needs to add resistors when using 24VDC input.
7.1.2 Parameters for Pulse Control Mode
1. Parameters for electronic gear ratio
Table 7-1 Parameters for electronic gear ratio
Numeric
Display
Variable Name
Meaning
Default Value
Range
d3.34
Gear_Factor
Numerator of electronic
1000
-32767~32767

Table of Contents

Other manuals for Kinco CD620

Related product manuals