EasyManua.ls Logo

Kollmorgen S700

Kollmorgen S700
216 pages
Go to English
To Next Page IconTo Next Page
To Next Page IconTo Next Page
To Previous Page IconTo Previous Page
To Previous Page IconTo Previous Page
Loading...
S700 Safety Guide | 5 Русский
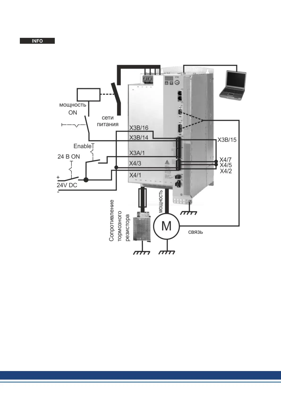
5.6.3.4 Минимально необходимая схема соединений S748...772 для быстрого тестирования
Данная схема проводных соединений не соответствует требованиям по безопасности
и работоспособности при выполнении вашей задачи. Здесь представлена только мини-
мально необходимая схема проводных соединений для быстрого тестирования.
186 Kollmorgen | September 2015

Table of Contents

Other manuals for Kollmorgen S700

Related product manuals