EasyManua.ls Logo

Kollmorgen S700

Kollmorgen S700
216 pages
Go to English
To Next Page IconTo Next Page
To Next Page IconTo Next Page
To Previous Page IconTo Previous Page
To Previous Page IconTo Previous Page
Loading...
Pinout S748...S772
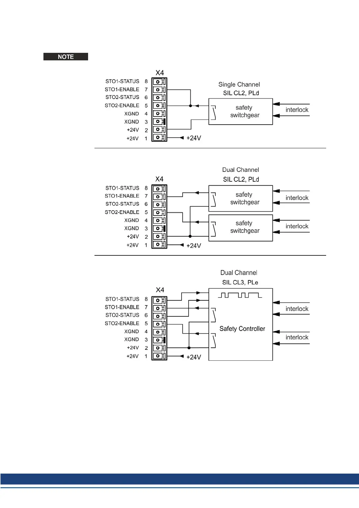
To achieve PLe / SIL CL3, the safe switching of the pulse inhibitor must be tested peri-
odically by analyzing the status signal from a safety control.
S700 Safety Guide | 2 English
Kollmorgen | September 2015 61

Table of Contents

Other manuals for Kollmorgen S700

Related product manuals