EasyManua.ls Logo

Konami Mocap Boxing - Page 36

Konami Mocap Boxing
52 pages
Print Icon
To Next Page IconTo Next Page
To Next Page IconTo Next Page
To Previous Page IconTo Previous Page
To Previous Page IconTo Previous Page
Loading...
7 Maintenance
6
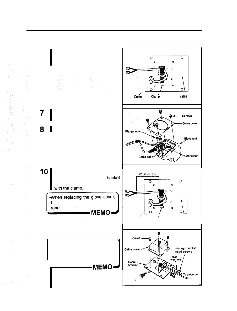
Loosen the clamp at the back of the
cable bracket, and draw out the
cable.
7
I
Remove the screws and detach the
glove cover.
8
1
Disconnect the connector.
9
I
Detach the flange nuts fixing the
cable ass’y and take out it. Now
the glove unit and the cable ass’y
are disconnected.
r
I-
Cl&
Back of the
cable
bracket
To fit a new cable
Lay the cable to the cable backet
as shown here. Secure the cable
60-60mm
(X36-3.1
sin)
take care not to pinch the
cable or
11
I
Cable Clamp Back of the cable bracket
Fix the cable ass’y to the cable .
bracket, and attach the cable cover
into position.
r
P
*Even when the cable ass’y bracket
lock screws are tightened up, the
cable ass’y bracket itself remains
somewhat loose. This is normal,
not a trouble.
MEMO-
12
Cable ass’y bracket
For the remaining steps, take the
reverse order of removal procedure.
1
34

Related product manuals