EasyManua.ls Logo

Konami Mocap Boxing - Glove Unit Replacement

Konami Mocap Boxing
52 pages
Print Icon
To Next Page IconTo Next Page
To Next Page IconTo Next Page
To Previous Page IconTo Previous Page
To Previous Page IconTo Previous Page
Loading...
7 Maintenance
7-2 Replacing the glove unit
Check the gloves daily and replace them as required.
n
Howtoreplacethegloveunit
=-===------1--1-1--
/
\
*Before replacing the glove unit, be sure to turn OFF the main power switch
and unplug the power cord from the receptacle.
*After the glove unit has been repaired or replaced, check the glove reaction.
(“GLOVE CHECK” on
pagei
18.)
*When replacing part&be sure to use parts of the correct specifications.
Never use parts other than the specified ones.
Gtrlctiy
refrain from disassembly and repair of parts which arenot indicated
In this manual, as well as settings and remodelling.
\
4
1
I
Be sure to turn OFF the main power
switch and unplug the AC power
cord from the receptacle.
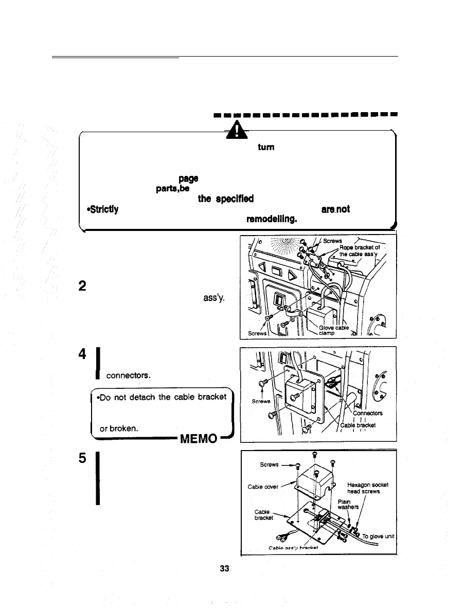
2
I
Remove the screws and detach the
rope bracket of the cable
a&y.
3
I
Remove the screws and detach the
glove cable clamp.
Remove the screws and detach the
cable bracket and pull out the
abruptly, because otherwise the
wires inside may be disconnected
I
Remove the screws and detach the
cable cover from the cable bracket
and remove the hexagon socket
head screws fixing the cable ass’y
bracket.

Related product manuals