EasyManua.ls Logo

Laski LS 150 D - Safety Symbols Explained

Laski LS 150 D
47 pages
Print Icon
To Next Page IconTo Next Page
To Next Page IconTo Next Page
To Previous Page IconTo Previous Page
To Previous Page IconTo Previous Page
Loading...
1 4
Note:
Be aware that traffic rules and regulations in different countries may
differ.
Work Safety Symbols
Work Safety SymbolsWork Safety Symbols
Work Safety Symbols
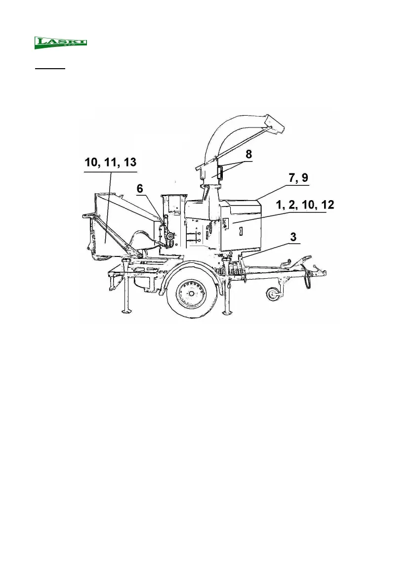
This article introduces work safety symbols (pictographs) used on this
machine. Under the given pos. number there is their location on the machine.
These work safety symbols warn the operator against risks connected with the
machine use. Your respect to the symbol meaning is a precondition for your
work safety.
The user is obliged to keep all the work safety symbols legible, clear and
undamaged. In case of any damage or illegibility ask your local dealer or an
authorised service for a new relevant pictograph.

Related product manuals