EasyManua.ls Logo

Laski LS 150 D - Blade Grinding and Maintenance

Laski LS 150 D
47 pages
Print Icon
To Next Page IconTo Next Page
To Next Page IconTo Next Page
To Previous Page IconTo Previous Page
To Previous Page IconTo Previous Page
Loading...
3 7
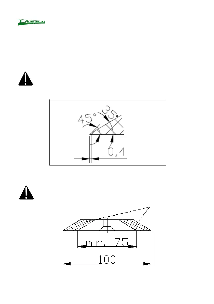
Blade Grinding
Blades, fitted in the chipping wheel, are double-sided, i.e. reversible if one side
is blunt.
Blades edge regrinding requires high demands for keeping cutting edge shape.
While grinding it is necessary to keep its optimal geometry, see the following
figure. Right shape prolongs blade service life.
While regrinding it is necessary to keep the same weight of particular
blades because of balance of their rotating mass. For grinding use
always a grinder with a magnetic table and a special fixture.
Detailed geometry of blade edge
Grind the blade only up to minimum distance from the edge to its fixing
bolt axis which is 37,5 mm. This distance on a new blade is 100 mm,
see the following figure.
Grinding allowance
Max. wear/grinding of cutting edge

Related product manuals