EasyManua.ls Logo

Lexmark 940e - Printer Theory; Media Transport; Media Transport Path

Lexmark 940e
815 pages
Print Icon
To Next Page IconTo Next Page
To Next Page IconTo Next Page
To Previous Page IconTo Previous Page
To Previous Page IconTo Previous Page
Loading...
General information 1-5
7510
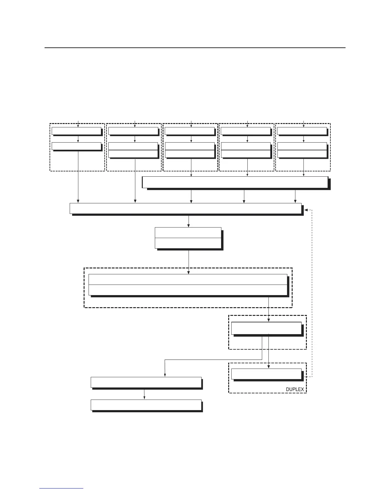
Printer theory
Media transport
Media transport path
Media is supplied from the MPF, tray 1, 2, 3 or 4, and is transported to the printer along the media transport path
shown below.
MPF
MPF pick roll
MPF Transport Roll ASM
MPF ASM
Media feed
unit ASM
Media feed
unit ASM
Pick roll
Pick roll
Separation roll
Separation roll
Feed roll
Media transport roll ASM
Tray 1
Tray 2
Feed roll
Registration roll ASM
2nd Transfer roll ASM
Transfer belt
Heat roll
Pressure belt
Fuser unit ASM
Fuser media
exit roll assembly
Duplex media transport roll ASM
Standard
media exit
Media feed
unit ASM
Pick roll
Separation roll
Tray 3
Feed roll
Media feed
unit ASM
Pick roll
Separation roll
Tray 4
Feed roll
Print exit
Standard media exit roll assembly

Table of Contents

Other manuals for Lexmark 940e

Related product manuals