EasyManua.ls Logo

LG RESU FLEX - Page 38

LG RESU FLEX
57 pages
Print Icon
To Next Page IconTo Next Page
To Next Page IconTo Next Page
To Previous Page IconTo Previous Page
To Previous Page IconTo Previous Page
Loading...
38
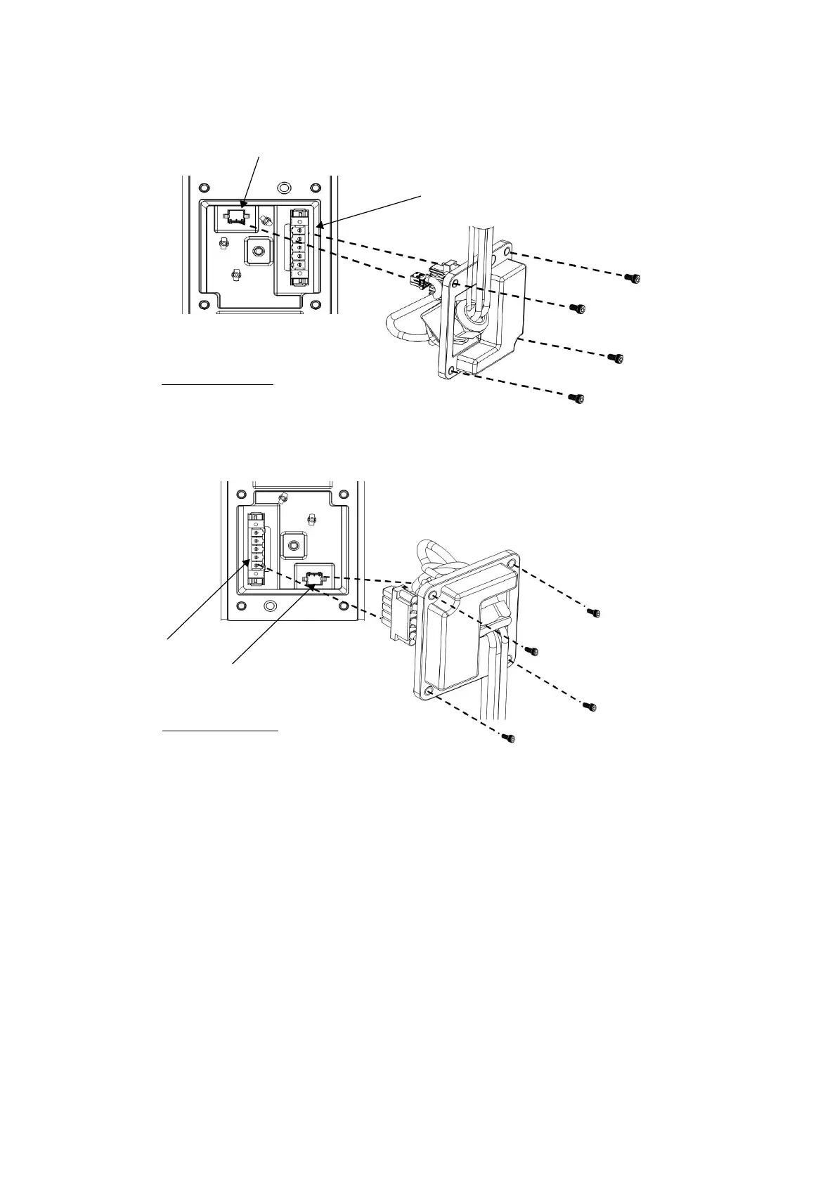
8. Connect the Inter Cables between the BMAs and BPU in order.
1) Top Terminal Block
M6 Bolt
Communication
After connection, fasten the bolts
Connector: Black
Power
Inter Cable
2) Bottom Terminal Block
Communication
Power
Inter Cable
M6 Bolt
After connection, fasten the bolts
Connector: Green
9. Tidy up the Inter Cable by inserting it into the attachable path inside
the BMA and fasten the cable using the Tie hole.

Table of Contents

Other manuals for LG RESU FLEX

Related product manuals