EasyManua.ls Logo

Linde E20 - Rating Plates

Linde E20
222 pages
Print Icon
To Next Page IconTo Next Page
To Next Page IconTo Next Page
To Previous Page IconTo Previous Page
To Previous Page IconTo Previous Page
Loading...
3 Overview
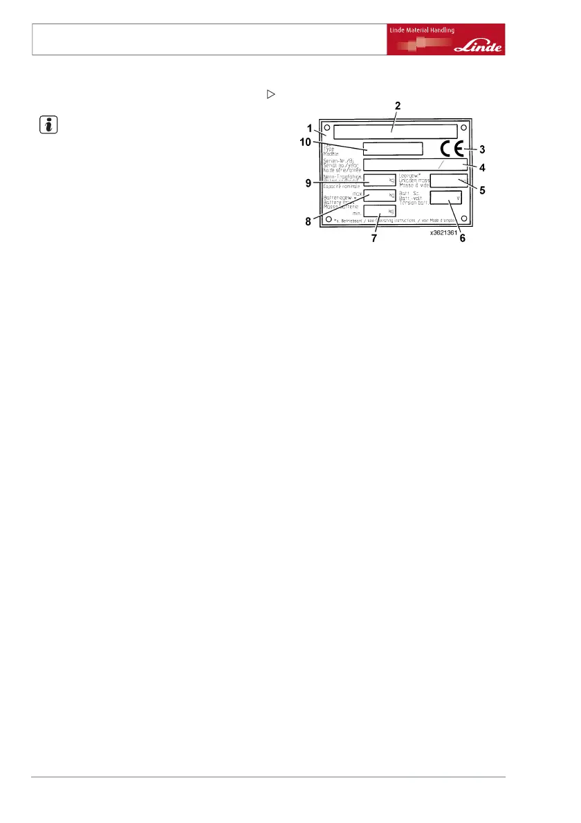
Rating plates
1 Factory nameplate
2 Manufacturer
3CEmark
4 Production No. / Year of manufacture
5 Unladen weight
6 Battery voltage
7 Battery weight min.
8 Battery weight max.
9 Nominal load capacity
10 Type
Rating plates
NOTE
The CE mark confirms compliance with the
EC Machinery Directives and compliance with
all relevant guidelines applicable to the forklift
truck.
16 Operating Instructions 386 807 1001 EN 03/2006

Table of Contents

Other manuals for Linde E20

Related product manuals