EasyManua.ls Logo

Linde H25D - Fuses for Basic and Special Equipment; Main Fuses in Engine Compartment

Linde H25D
268 pages
Print Icon
To Next Page IconTo Next Page
To Next Page IconTo Next Page
To Previous Page IconTo Previous Page
To Previous Page IconTo Previous Page
Loading...
5 Maintenance
Troubleshooting
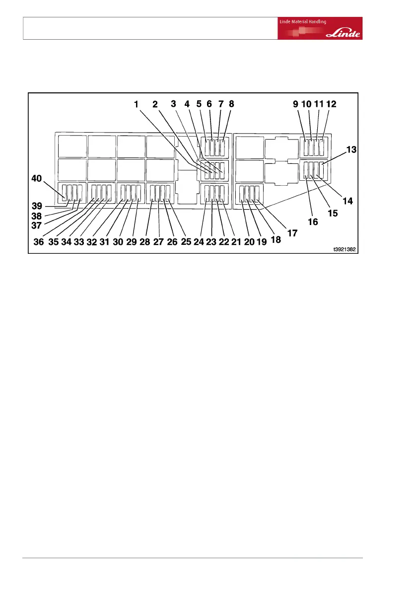
Fuses for basic and special equipment
Checking and changing fuses
1 12 V socket (9F10)*, 15 A
2 Heater/air conditioning (9F9)*, 20 A
3 Seat heater (9F6)*, 15 A
4 Warning light and rotating beacon (4F3)*,
7.5 A
5 Working headlight positions 3, 4 (5F2)*, 15 A
6 Working headlight positions 5, 6 (5F3)*, 15 A
(with attachment of one 7.5 A headlight)
7 Working headlight positions 7, 8 (5F4)*, 15 A
(with attachment of one 7.5 A headlight)
8 Rear window heater (9F5)*, 20 A
9 Indicator unit (terminal 30) (F5), 2 A
10 Indicator unit (terminal 15) (F6), 2 A
11 Alarm horn (F7), 15 A
12 Traction-lift control (terminal 15) (F8), 2 A
13 Engine control unit (F12), 5 A
14 Engine control unit (F11), 20 A
15 Not assigned
16 Traction-lift control (terminal 30) (F9), 15 A
17 3. Auxiliary hydraulics (F16)* 7.5 A
18 Terminal 15 (F15), 10 A
19 Terminal 58 (F14), 2 A
20 Terminal 30 (F13), max. 15 A
21 Toothed belt seal blower (0F1)*, 10 A
Time-delayed lighting off (F17)*, 2 A
22 Particulate filter (7F3)*, 30 A
23 Particulate filter (7F2)*, 20 A
24 Particulate filter (7F1)*, 5 A
25 Vehicle Data Management (6F1)*, 5 A
26 Reverse motion (4F1)*, 10 A
27 Radio (terminal 58) (9F8)*, 10 A
28 Radio (terminal 30) (9F7)*, 5 A
29 Washer pumps (9F4)*, 10 A
30 Windscreen wiper rear and roof (9F3)*, 10 A
31 Front windscreen wiper (9F2)*, 10 A
32 Windscreen wiper (9F1)*, 2 A
33 Interior light (5F12)*, 5 A
34 Brake light (5F7)*, 5 A
35 Warning lights (5F6/5F13)*, 10 A
36 Lighting / working headlight positions 1, 2
(5F5/5F1)*, 15 A
37 Right sidelights (5F11)*, 5 A
38 Left sidelights (5F10)*, 5 A
39 Right headlight (5F9)*, 7.5 A
40 Left headlight (5F8)*, 7.5 A
* Special equipment
Main fuses in engine compartment
Checking and changing fuses
¾ Open the bonnet.
186 Operating Instructions 393 807 1001 EN 08/2008

Table of Contents

Related product manuals