EasyManua.ls Logo

LNS Alpha 538 - Electrical Component Layout

LNS Alpha 538
115 pages
Print Icon
To Next Page IconTo Next Page
To Next Page IconTo Next Page
To Previous Page IconTo Previous Page
To Previous Page IconTo Previous Page
Loading...
CHAPTER 4: ELECTRICS 4-3
ALPHA 538/552
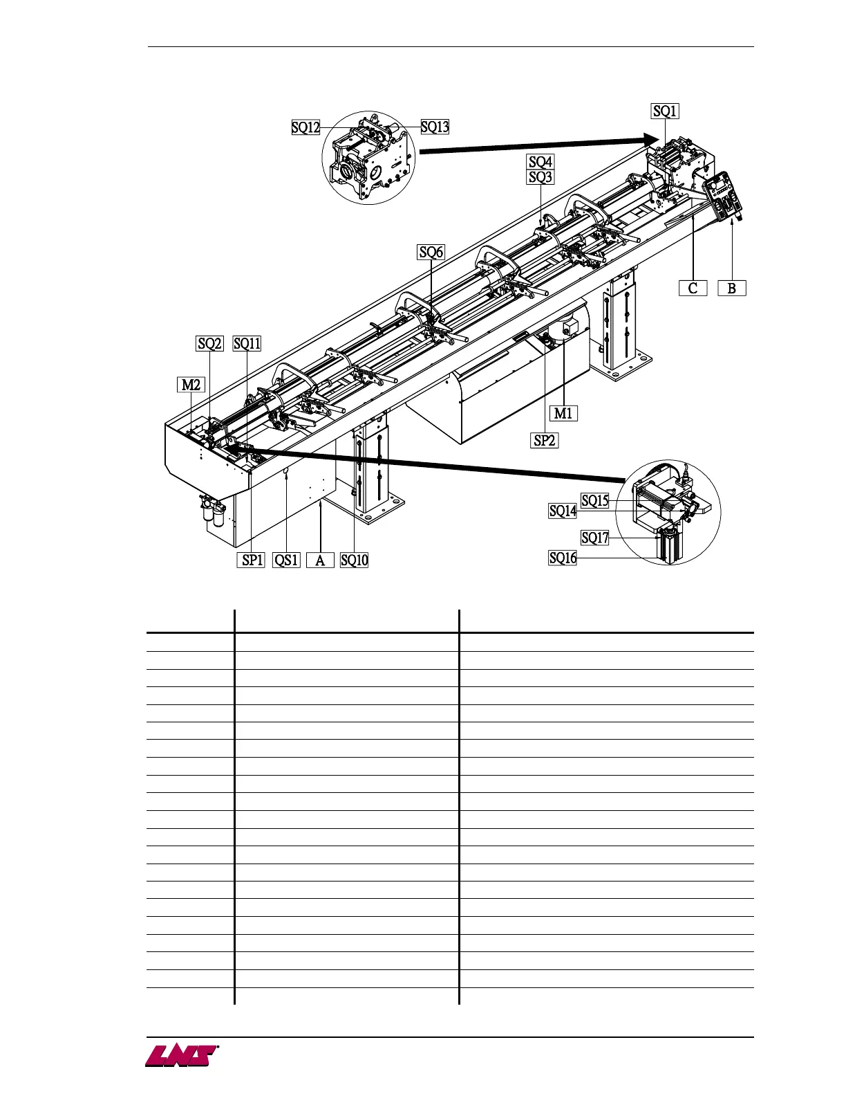
1.2. Layout of the electrical elements on the bar feeder
Designation
Article No. Description
A XH03202001000 Electrical cabinet
B X51.40.A005A Remote control
C - Interface (specific to each installation)
M 1 X51.09.P017A Hydraulic pump motor
M 2 B14120203 Servo motor
QS 1 B55000003 Main power switch
SP 1 C11121400 Air pressure switch
SP 2 44.0179.K0.15 Hydraulic pressure switch
SQ 1 B18120401 (4m) Positioned stop
SQ 2 B18120400 Home position
SQ 3 C11111100 Guiding channel in open position switch
SQ 4 C11111100 Guiding channel in closed position switch
SQ 6 C11111100 Vice system
SQ 10 4.484 Retraction safety
SQ 11 4.894 Main access cover closed safety switch
SQ 12 B18120401 Front rest reference (option)
SQ 13 B18120401 Front rest pulse signal (option)
SQ 14 C11111100 Inserting clutch off (option)
SQ 15 C11111100 Inserting clutch on (option)
SQ 16 C11111100 Material extraction (option)
SQ 17 C11111100 Material inserting (option)

Related product manuals