EasyManua.ls Logo

LS tractor J2020H - Replacing Fuel Filter Cartridge; Replacing Air Cleaner Element (Dry Type)

LS tractor J2020H
101 pages
Print Icon
To Next Page IconTo Next Page
To Next Page IconTo Next Page
To Previous Page IconTo Previous Page
To Previous Page IconTo Previous Page
Loading...
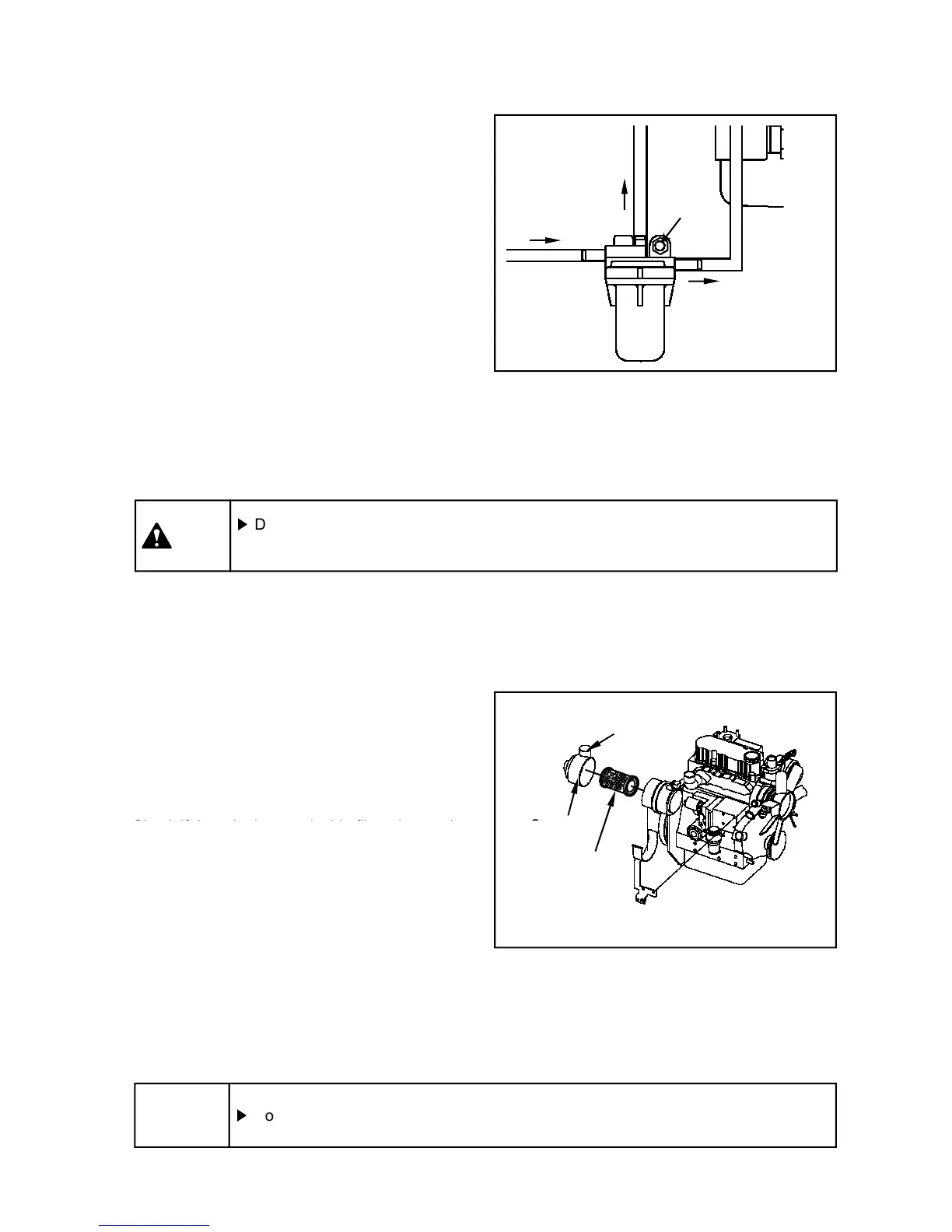
(3) Replacing Fuel filter cartridge
1. Stop engine and apply parking brake. Set
container under the fuel filter.
Prepare the plug to block the fuel hoses.
2. Disconnect hose-A first, and plug the hose.
3. Disconnect hose-B and C with the same method.
4. Remove the bolt from the filter.
5. Replace the fuel filter with a new one.
6. Connect the hose B, C and A step by step and
tighten the bolt.
7. Disconnect hose “C” for a seconds to bleed the
A
C
B
Fuel tank
(Feed)
Fuel tank
(Return)
Injection pump
Bolt
air, and connect it again.
8. Check any leakage around fuel filter.
Do not fill the new filter with fuel. The invisible fine foreign materials enter the
injection pump and it may cause damage to the fuel injection system.
Caution
(4) Replacing Air cleaner element
(Dry type)
Remove the cover and pull out the primary filter
element straight out. (Fig. 1)
Clean the inside of the air cleaner housing using
a clean damp cloth.
Check if there is damage inside filter element by
Cover
Evacuator valve
5
5 5
5 - 16
Check if there is damage inside filter element by
using a light. If there is tiny crack or small hole in
the filter element or the gasket is damaged,
replace it with a new one.
Insert the filter element by pushing it deeply into
the filter housing.
Remove the dust of the evacuator valve and
clean the inside of the cover.
Assemble the cover with the evacuator valve
placed downward.
Do not start the engine or close the hood if the filter element is not assembled..
Notice
<Fig. 1>
Cover
Primary filter
element

Table of Contents

Related product manuals