EasyManua.ls Logo

Magnetrol ES Modulevel - Installing a Chamber Type Modulevel

Magnetrol ES Modulevel
52 pages
Print Icon
To Next Page IconTo Next Page
To Next Page IconTo Next Page
To Previous Page IconTo Previous Page
To Previous Page IconTo Previous Page
Loading...
Note: The adjustable hanger assembly is used when the top
o
f the displacer and, therefore, the top of the measure-
ment range must be positioned in the vessel more
than 5" (127 mm) below the mounting flange in the
case of models 600# or less, or more than 9.31" below
the mounting flange on models 900# or greater. The
m
aximum hanger cable length is 8 feet.
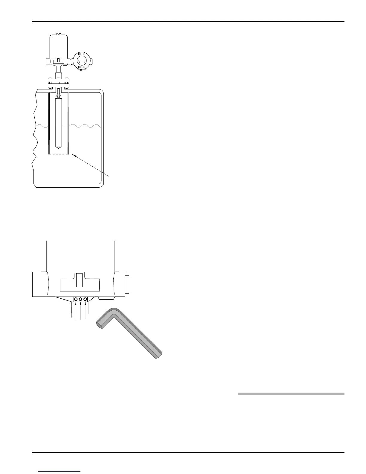
A stilling well is installed for applications where continuous
agitation is present. The stilling well must be vertically level
so as not to restrict displacer movement.
See Figure 2 for a typical stilling well installation.
The process temperature, pressure and specific gravity are
within the units specifications for installation.
See Specifications, Section 4.8.
To install:
1. Carefully place the displacer in the vessel. Align the gasket
on the flange.
2. Align the Modulevel flange with the flanged connection on
the vessel.
3. Make sure the flange gasket is seated properly. Install flange
bolts and nuts.
4. Tighten alternating flange bolts in a star pattern.
Caution: All Modulevels are shipped from the factory with the
enclosing tube tightened and the transmitter head
set screws locked to the enclosing tube. Failure to
loosen the set screws prior to repositioning the
supply and output connections may cause the
enclosing tube to loosen, resulting in the possible
leakage of the process liquid or vapor.
5. Loosen the transmitter head lock screws (socket type) and
position conduit outlet in the desired direction.
See Figure 3.
6. Retighten lock screws.
Note: Since the transmitter head is rotatable through 360º,
it is important to make certain that the controller
locking screws are tight before making electrical
connections.
1.4.2 Installing a Chamber Type Modulevel (E63, E64, E65,
E66, E53, and E55)
The chamber type Modulevel is mounted on the side of
the vessel with either a side/side or side/bottom connec-
tion, as furnished. Figure 4 on page 5 illustrates a typical
chamber type installation.
Use stilling well in
case of turbluent
medium
Size 1/8"
Always unlock for repositioning or removal
of head assembly and always relock,
after final positioning
Figure 2
Tank Top Mounted
with Stilling Well
Figure 3
Transmitter Head
Lock Screws
4
48-618 ES/EZ Modulevel Displacer Level Transmitter (Top Hat Assembly Design)

Table of Contents

Related product manuals