EasyManua.ls Logo

Mercury Optimax 135 - Fuel Pump

Mercury Optimax 135
522 pages
To Next Page IconTo Next Page
To Next Page IconTo Next Page
To Previous Page IconTo Previous Page
To Previous Page IconTo Previous Page
Loading...
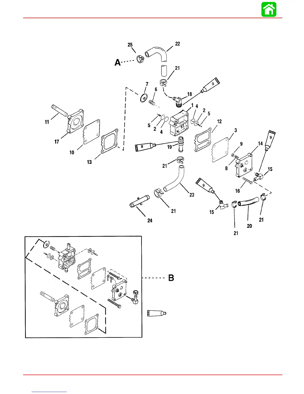
FUEL PUMP
Page 3A-2 90-855347R1 JANUARY 1999
Fuel Pump
Loctite PST Pipe Sealant (92-809822)
9
A = TO VAPOR SEPARATOR FUEL INLET FITTING
B = REFER TO SERVICE BULLETIN 98--8

Table of Contents

Related product manuals