EasyManua.ls Logo

micro-trak MT-3405 M - Basic Overview of Typical Installation

Default Icon
56 pages
Print Icon
To Next Page IconTo Next Page
To Next Page IconTo Next Page
To Previous Page IconTo Previous Page
To Previous Page IconTo Previous Page
Loading...
7
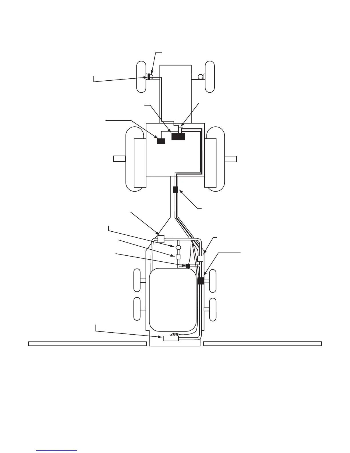
Basic Overview of Typ i cal MT-3405 M Installation
Pull-Type Sprayer
Hall-eect Speed Sensor
Magnets on Hub of
Non-driven Wheel
MT-3405 M Console
Remote Run/Hold
Harness Connection
Battery
Agitation Shot-o Valve *
Stainer *
Pump *
Servo
Main Harness Hitch Connectors
Trottle Valve *
Flowmeter installed after
the agitation/return line,
pressure regulator and lter,
but before the boom valve
* Items NOT Included with the MT-3405 FTW
Boom Shut-o Valves *

Table of Contents

Related product manuals