EasyManua.ls Logo

Miele KM 7464 FL - Km 7464 Fl, Km 7465 Fl

Miele KM 7464 FL
104 pages
Print Icon
To Next Page IconTo Next Page
To Next Page IconTo Next Page
To Previous Page IconTo Previous Page
To Previous Page IconTo Previous Page
Loading...
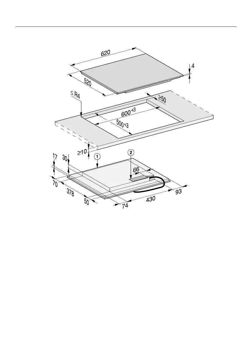
Installation
*INSTALLATION*
82
KM7464FL,KM7465FL
All dimensions are given in mm.
a
Front
b
Mains connection box
The mains connection cable (L=1440mm) is supplied loose

Table of Contents