EasyManua.ls Logo

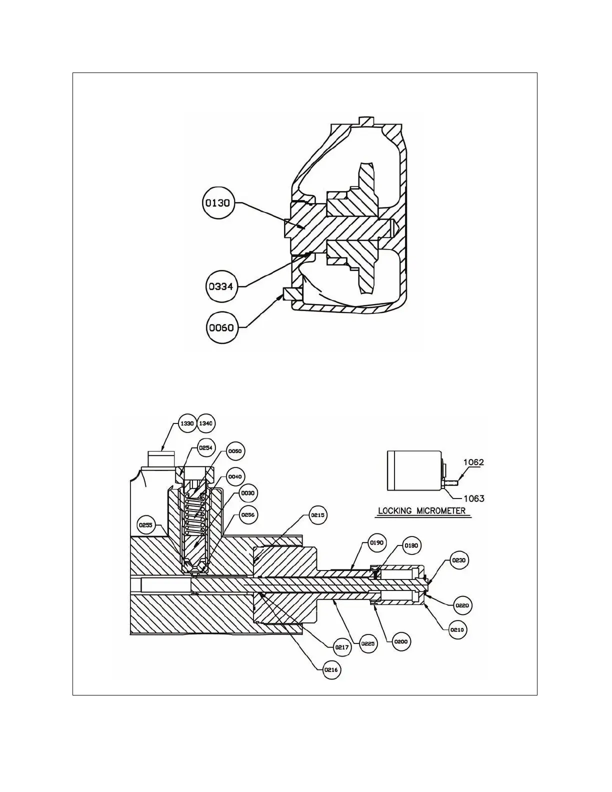
Milton Roy mRoy XT - FIGURE 14. XW Capacity Control, Relief Valve Parts, and Gear Shaft Assembly (102-2402-000)

Milton Roy mRoy XT
60 pages
Print Icon
To Next Page IconTo Next Page
To Next Page IconTo Next Page
To Previous Page IconTo Previous Page
To Previous Page IconTo Previous Page
Loading...
44
Figure 14. XW Capacity Control, Relief Valve Parts, and Gear Shaft Assembly (102-2402-000)
CAPACITY CONTROL AND
RELIEF VALVE
GEAR SHAFT ASSEMBLY

Table of Contents

Related product manuals