EasyManua.ls Logo

MINATO 1866 - Page 45

Default Icon
64 pages
Print Icon
To Next Page IconTo Next Page
To Next Page IconTo Next Page
To Previous Page IconTo Previous Page
To Previous Page IconTo Previous Page
Loading...
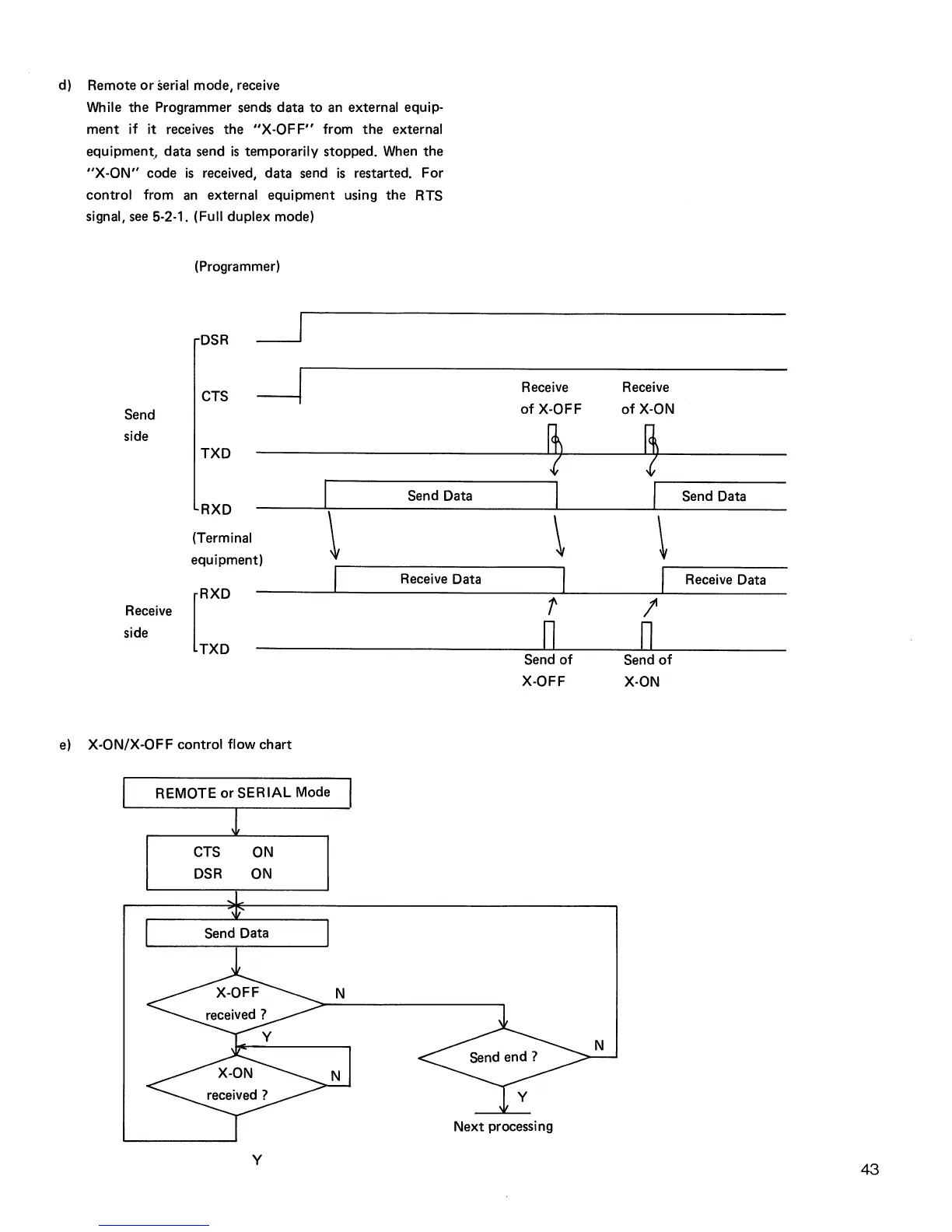
d)
Remote
or
serial
mode.
receive
While
the
Programmer sends
data
to
an external equip-
ment
if it receives
the
"X-OF
F"
from
the
external
equipment,
data
send
is
temporarily
stopped.
When
the
"X-ON"
code
is
received.
data
send
is
restarted.
For
control
from an external
equipment
using
the
RTS
signal, see 5-2-1. (Full duplex mode)
(Programmer)
DSR
~
CTS
--J
Send
side
TXD
RXD
I
\
(Terminal
equipment)
I
[RXD
Receive
side
TXD
Send
Data
Receive Data
e) X-ON/X-OFF
control
flow
chart
REMOTE
or
SERIAL
Mode
CTS ON
DSR ON
Send Data
Receive
of
X-OFF
~
I
\
I
t
n
Send
of
X-OFF
Next processing
y
Receive
of
X-ON
~
I
Send Data
\
I
Receive Data
/'
n
Send
of
X-ON
43

Table of Contents