EasyManua.ls Logo

Mirion Technologies LDM 320 - LDM 320 Block Diagram; Reader Operating Modes

Mirion Technologies LDM 320
32 pages
Print Icon
To Next Page IconTo Next Page
To Next Page IconTo Next Page
To Previous Page IconTo Previous Page
To Previous Page IconTo Previous Page
Loading...
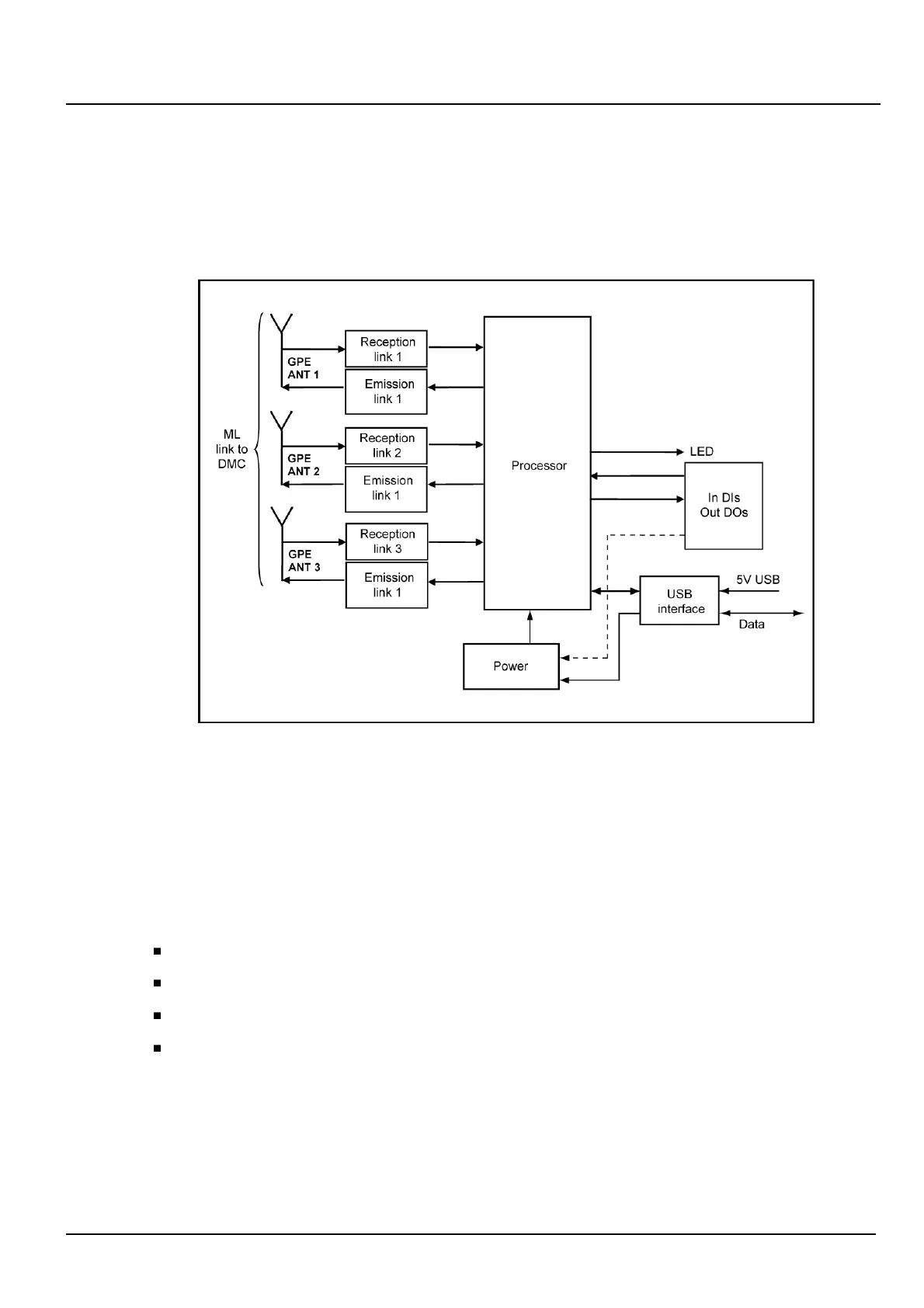
2.3. LDM 320 Block Diagram
Figure 3 - Block Diagram
2.4. Reader Operating Modes
The reader has several operating modes. Switching from one mode to another is done via
computer. Upon power-on, the reader starts in the mode indicated by the associated
configuration parameter.
The following modes are available for use:
Normal mode
Specific mode
"Test" modes
Downloading and Programming mode
Description LDM 320
4
Publication, traduction et reproduction totales ou partielles de ce document sont rigoureusement interdites, sauf autorisation écrite de nos services.
The publication, translation or reproduction, either partly or wholly, of this document is not allowed without our written consent. Format 112175C.
150532EN-C

Related product manuals