EasyManua.ls Logo

Mitsubishi FX3U

Mitsubishi FX3U
260 pages
To Next Page IconTo Next Page
To Next Page IconTo Next Page
To Previous Page IconTo Previous Page
To Previous Page IconTo Previous Page
Loading...
13 Example of Communication between Master Station
13.3 When Remote Net Additional Mode is Used
170
FX3U-16CCL-M User's Manual
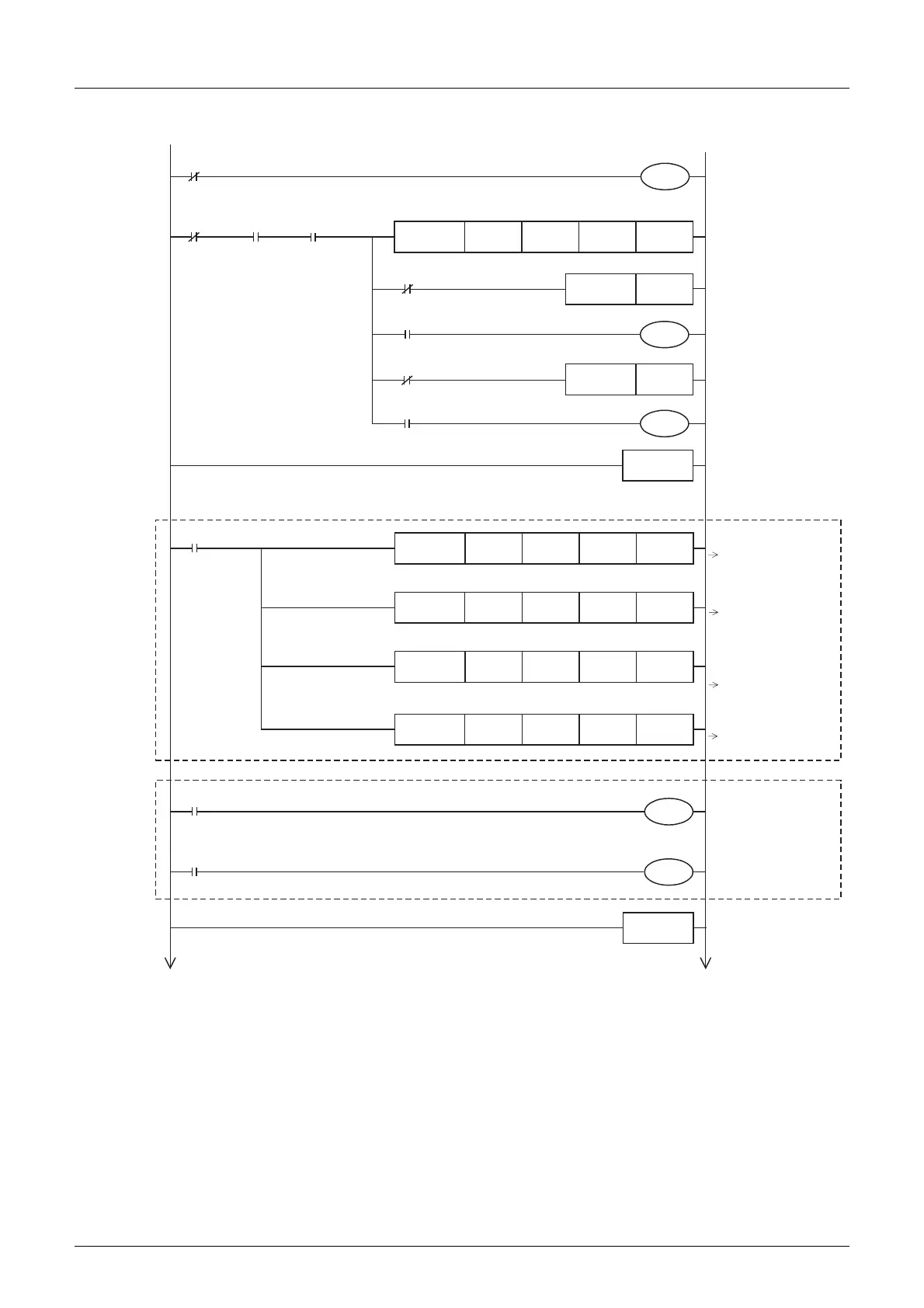
Program to control remote device stations
Unit
error
M20
M35
Unit
ready
Reads the data link
status in remote
device station (SW0080).
M21
Data link
status in
master
station
M501
Y030
Y031
There is an error in data link
in the FX
2N
-32CCL
(Station No. 1)
Data link is being
executed in
the FX
2N
-32CCL
(Station No. 1)
Data link is being
executed in
the AJ65VBTCU-68DAVN
(Station No. 4)
FNC 79
FROM
K0 H0680 K4M501 K1
M501
M504
M504
Normal link (station No. 1)
Link error (station No. 1)
Normal link (station No. 4)
Link error (station No. 4)
FNC 01
CALL
P10
FNC 01
CALL
P20
FNC 06
FEND
There is an error in data link in
the AJ65VBTCU-68DAVN
(Station No. 4)
To the next page
Program for
communication
with the
FX
2N
-32CCL
M8000
RUN
monitor
FNC 79
FROM
K0 H00E0 K4M100 K6
FNC 78
TO
K0 H0160 K4M300 K6
FNC 78
TO
K0 H01E0 D100 K12
P10
FNC 79
FROM
K0 H02E0 D200 K12
M100
FX
2N
-32CCL(RX00)
When RX00 in the
FX
2N
-32CCL
(station No. 1) turns ON,
Y000 in the PLC turns ON.
Y000
X000
When X000 in the PLC
turns ON,
RY00 in the FX
2N
-32CCL
turns ON.
M300
Program for
confirming
operation
of the
FX
2N
-32CCL
FNC 02
SRET
M21
Data link status in
master station
Y040
Master station data
link error
Reads from remote input.
H00E5 to H00E0(RX5F to RX0)
M195 to M100
Writes to remote output.
M395 to M300
H0165 to H0160
(RY5F to RY0)
Writes to remote register
(RWw).
D111 to D100
H01EB to H01E0
(RWwB to RWw0)
Reads from remote register
(RWr).
H02EB to H02E0
(RWrB to RWr0)
D211 to D200

Table of Contents

Other manuals for Mitsubishi FX3U

Related product manuals