EasyManua.ls Logo

Mortara ELI 210 - ELI 250;210 Block Diagram

Mortara ELI 210
111 pages
Print Icon
To Next Page IconTo Next Page
To Next Page IconTo Next Page
To Previous Page IconTo Previous Page
To Previous Page IconTo Previous Page
Loading...
ELI 250/210__________________________________________________________________________
5-2
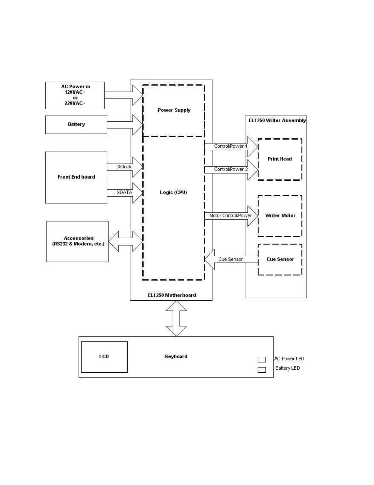
ELI 250/210 Block Diagram

Table of Contents

Related product manuals