EasyManua.ls Logo

NARDA PMM 7010/00 - Installing the PMM 9010-RMA

NARDA PMM 7010/00
76 pages
Print Icon
To Next Page IconTo Next Page
To Next Page IconTo Next Page
To Previous Page IconTo Previous Page
To Previous Page IconTo Previous Page
Loading...
6-6 PMM 9010-RMA Rack Mount Adapter
6.11 Installing the
PMM 9010-RMA
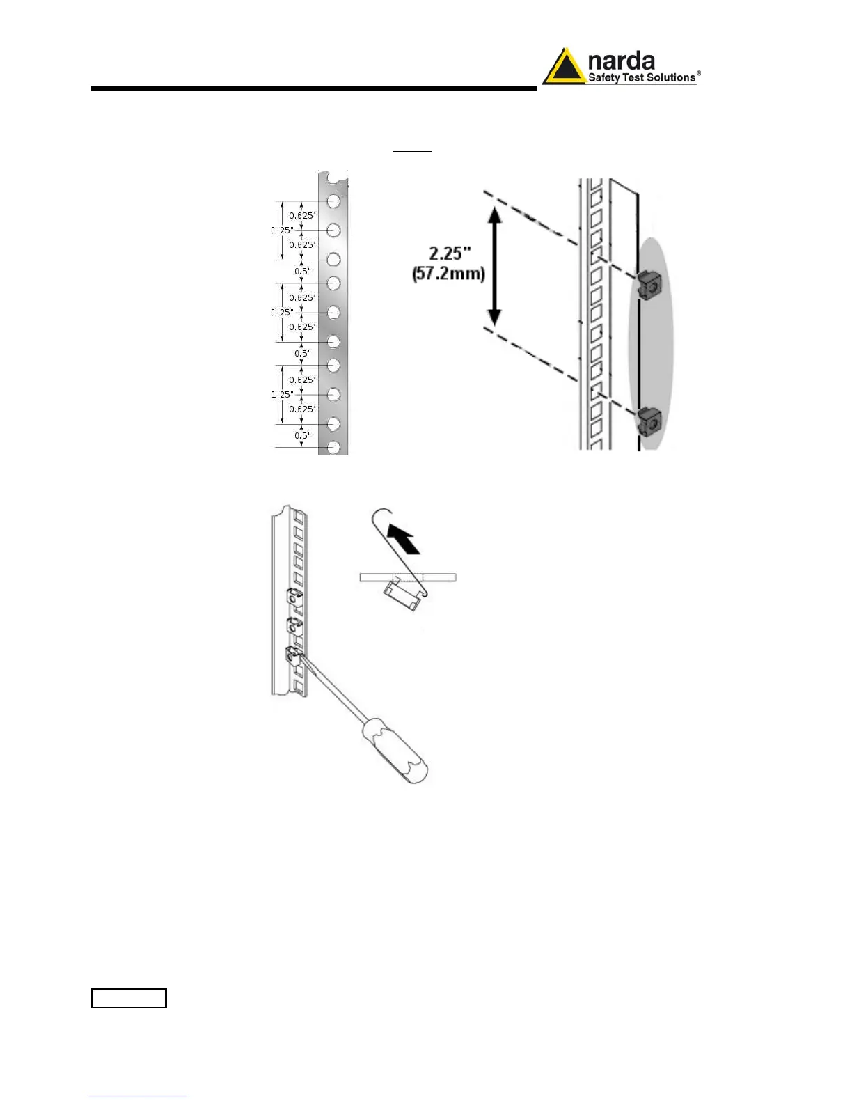
This section describes how to install the PMM 9010-RMA Rack Mount Adapter:
- Insert the cage nuts behind the vertical rails with respect to the Rack Unit
Boundary and the distance show below:
- Y
ou can use a rack-insertion tool or a flat-blade screwdriver to install the cage
nuts.
- Insert the chassis into the rack.
- Slide the chassis into the rack until the front flange is flat against the cage
nuts.
- Using the four screws and black plastic washers, fix the chassis by its
flanges to the rack.

Related product manuals