EasyManua.ls Logo

NF WF1945B - Page 45

Default Icon
188 pages
Print Icon
To Next Page IconTo Next Page
To Next Page IconTo Next Page
To Previous Page IconTo Previous Page
To Previous Page IconTo Previous Page
Loading...
3.2 Input and output connections
WF1945B 3-15
Avoid shorting the output or applying an external signal. The unit can be damaged.
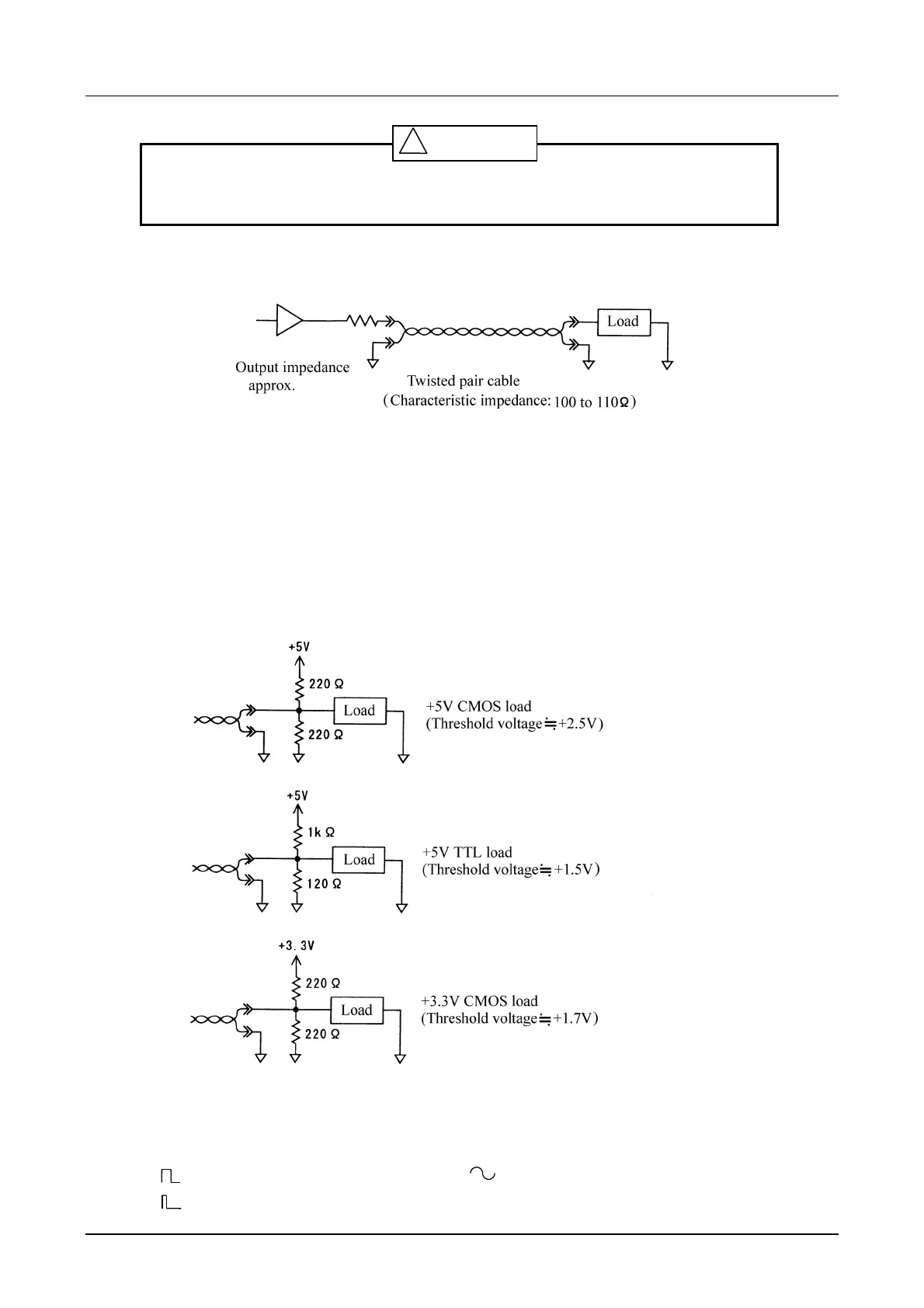
Accessory cable connection example 1
Since the sending impedance and transmission line characteristic impedance is nearly matching, a
comparatively good waveform can be obtained even with an open load.
Accessory cable connection example 2
Even better waveform quality can be obtained by terminating at 110 to 120 . In this case, the
amplitude at the load end is about 1/2 that at the output end.
This response can be utilized to apply a suitable voltage to even a low operating voltage CMOS. But
in this case, do not set to high impedance with the output control line. Circuit damage can occur with
a CMOS device.
Digital output is undefined when the oscillation mode is NOISE or DC.
Except for the following cases, data corresponding to the waveform (FUNCTION) is output as digital
output:
(duty 50% fixed): Data corresponding to is output.
(variable duty): Data to be output is undefined.
! CAUTION
100
115

Table of Contents

Related product manuals