EasyManua.ls Logo

NF WF1945B - Burst Oscillation (Type: Trigger); Burst Oscillation (Type: Gate)

Default Icon
188 pages
Print Icon
To Next Page IconTo Next Page
To Next Page IconTo Next Page
To Previous Page IconTo Previous Page
To Previous Page IconTo Previous Page
Loading...
4.1 Burst oscillation
WF1945B 4-5
Burst oscillation (Type: Trigger) (
MODE
BURST
TYPE : TRIG)
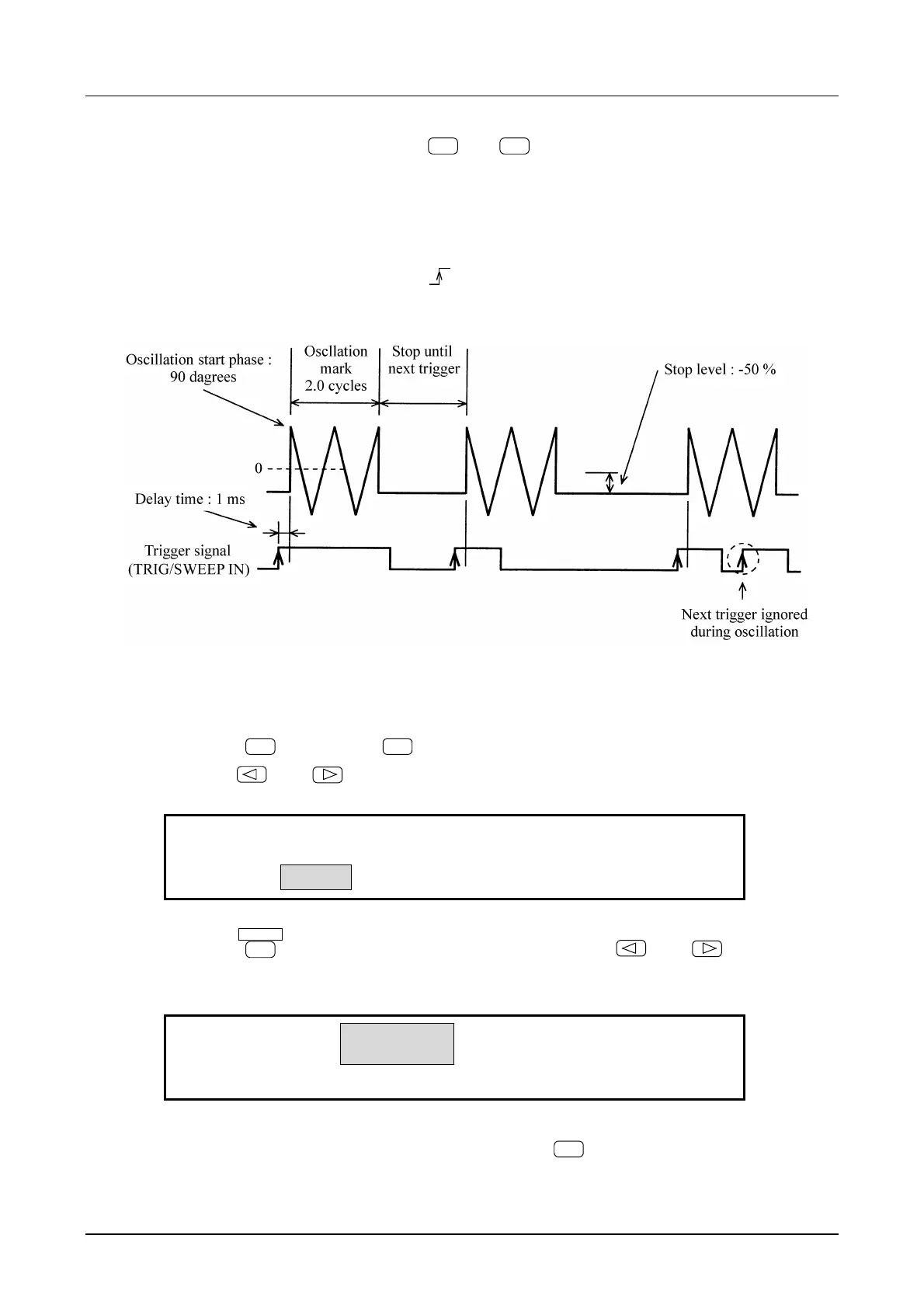
Burst oscillation (Type: Trigger) produces an intermittent oscillation output at a designated cycle at each
trigger signal.
Operation is described with reference to an example of producing a waveform output such as indicated in
the figure in response to an external trigger (
).
The example is a triangular waveform, DC offset 0 V, frequency and amplitude arbitrary.
Operation:
(1) Set the burst oscillation TYPE to TRIG.
Press the
MODE
key, then the
BURST
key.
Use the
and
keys to select the type (TYPE flashes).
BURST
TRIG GATE
4
BURST:TYPE MARK SPACE STOP―LEVEL
Press the
ENTER
key, then produce the following display with the
and
keys
(TRIG flashes).
BURST
TRIG
GATE
4
TRIG:TYPE SOURCE DELAY MARK
4
This sets the burst oscillation type to trigger. Press the
EXIT
key to exit type setting.

Table of Contents

Related product manuals