EasyManua.ls Logo

NINGBO DAVID YP-970 - Controller, Indicators

NINGBO DAVID YP-970
71 pages
Print Icon
To Next Page IconTo Next Page
To Next Page IconTo Next Page
To Previous Page IconTo Previous Page
To Previous Page IconTo Previous Page
Loading...
4-2
I4-1
O
2
>37
OPERATORS MANUAL FOR INFANT INCUBATOR EDITION/REVISION B/0
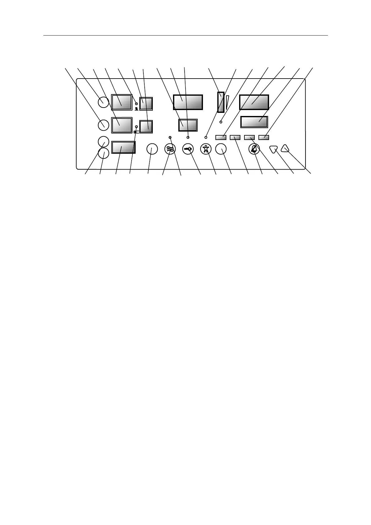
4.3 CONTROLLERS, INDICATORS
1 2 3 4 5 6 7 8 9 10 11 12 13 14 15 16 17
18 19 20 21 22 23 24 25 26 27 28 29 30 31 32
FIGURE 4.4
1. Oxygen concentration indicator key
Press this key to turn on or off the oxygen concentration indicator and oxygen concentration
control system.
2. Humidity indicator key
Press this key to turn on or off the humidity indicator and humidity control system.
3. Oxygen concentration indicator
Turnning the oxygen concentration indicator on to observe current oxygen concentration
valuedetected by oxygen concentration sensor, turnning it off, it indicates “OF”.
4. Humidity indicator
Display the current humidity value detected by the humidity sensor when it is onwhen
ternning it off, it display “OF”.
5. Humidifying indicator light
This light on indicates the humidifying system is on working.
6. Humidity set indicator
When the humidity control is turned on, it displays the humidity value.
7. Oxygen concentration set indicator
When the oxygen concentration control is turned on, it displays the oxygen concentration
value.
8. Set temperature indicator
Indicates the control value of air temperature in Air Mode; indicate the control value of baby
temperature in Baby Mode.
9. Air temperature indicator
Indicate air temperature.

Related product manuals