EasyManua.ls Logo

ODA OPS Series - Rear Panel Composition

Default Icon
89 pages
Print Icon
To Next Page IconTo Next Page
To Next Page IconTo Next Page
To Previous Page IconTo Previous Page
To Previous Page IconTo Previous Page
Loading...
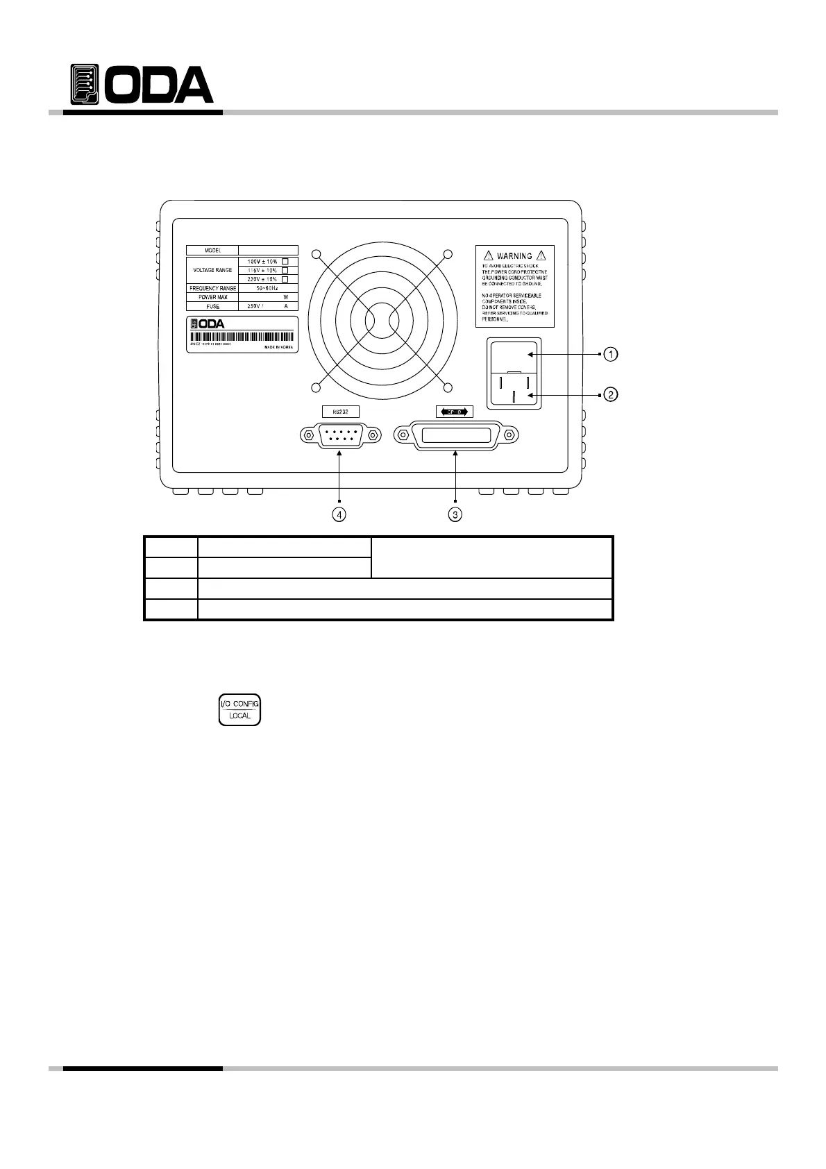
2-3. Rear Panel Composition
Fuse Holder
AC inlet
Power-line module
1
2
3 GPIB (IEEE-488) interface connector
RS-232C interface connector4
PC Interface Method
Press key on the front panel in other to set PC interface.
("Refer to chapter 3-3. I/O Config & LOCAL")
- 19 -

Table of Contents

Related product manuals