EasyManua.ls Logo

ODA OPS Series - RS232 C Setting(Option)

Default Icon
89 pages
Print Icon
To Next Page IconTo Next Page
To Next Page IconTo Next Page
To Previous Page IconTo Previous Page
To Previous Page IconTo Previous Page
Loading...
RS232C Setting(Option)
▌RS232C is fixed as below.
Data Bit : 8
Stop Bit : 1
Parity Bit : None
▌RS232C Data frame structure
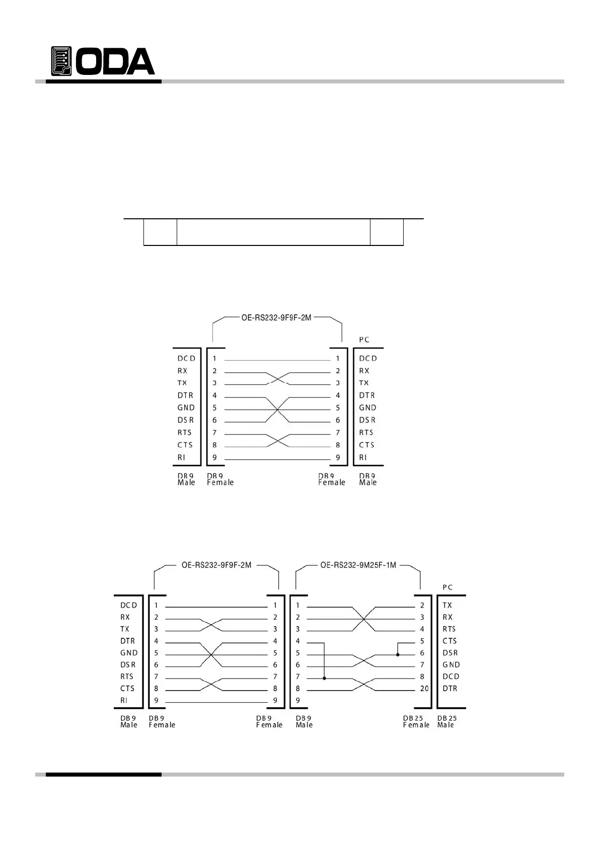
▌To connect product and PC, Female type cross cable is required. Diagram below is
explanation when both side is all female type cross cable.
Stop
Bit
8 Data Bits
Start
Bit
pyp
Read "1-2. Accessories & Instrument Option" for more information.
Equipmen
< Diagram 3-3 >
It is convenient when you use se
p
arated ada
p
ter cable. (If you wish to use DB25PIN from
Read "1-2. Accessories & Instrument Option"" for more information.
Equipmen
< Diagram 3-4 >
- 32 -

Table of Contents

Related product manuals